lemon-mirror:
Home >> Suzuki >> 2004 >> Vitara RWD, Automatic >> Repair and Diagnosis >> Transmission >> Transfer Case >> Repair Instructions >> Transfer Assembly

Transfer Assembly

  1. Using hydraulic press and special tool, press-fit needle bearing into center case (1). As shown in the figure, apply straightedge (2) to top surface of case and press-fit till limit line (3) of special tool aligns with bottom surface of straightedge (2) (i.e., case surface).
    NOTE:
    • Press-fitting needle bearing according to above procedure will set needle bearing 3 mm before it hits case bottom.
    • Once it is press-fit all way down to case bottom, removal would be very difficult if it becomes necessary.

    Special tool 

    (A): 09951-76010 

    Fig 1: Installing Needle Bearing Into Center Case
    G02257564Courtesy of SUZUKI OF AMERICA CORP.
  2. Using special tool and hammer, drive oil seal (1) into center case (2) until it becomes flush with case surface. Apply grease "A" to oil seal lip.

    "A": Grease 99000-25010 

    Special tool 

    (B): 09913-75520 

    Fig 2: Installing Oil Seal Into Center Case
    G02257565Courtesy of SUZUKI OF AMERICA CORP.
  3. Install oil gutter to center case (2) and tighten bolt (1) applying thread lock cement "B".

    Tightening torque 

    Center case gutter bolt (a): 8 N.m (0.8 kg-m, 6.0 lb-ft) 

    "B": Thread lock cement 99000-32020 

    Fig 3: Installing Oil Gutter To Center Case
    G02257566Courtesy of SUZUKI OF AMERICA CORP.
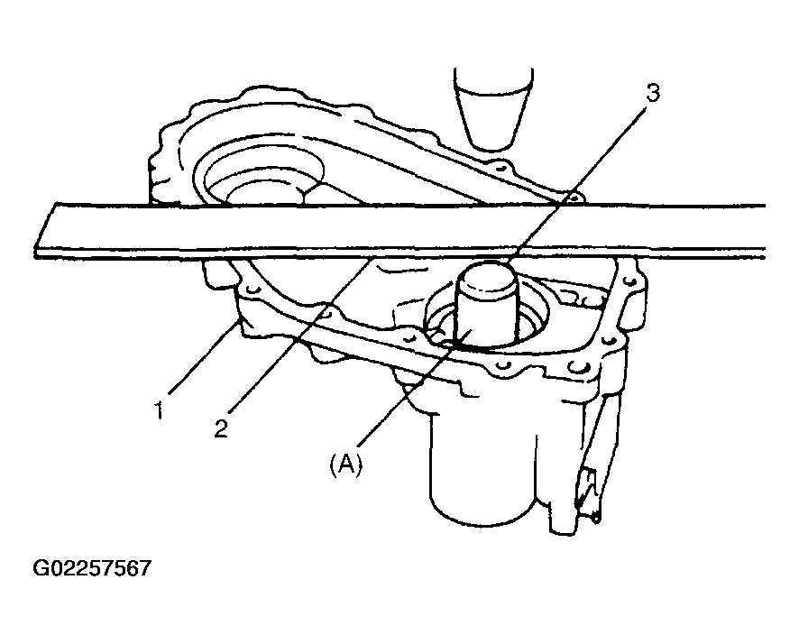
  4. Using special tool and hydraulic press, install needle bearing into rear case (1). As shown in the figure, apply straightedge (2) to case surface and press-fit till top (3) of special tool aligns with bottom surface of straightedge (2) (i.e., case surface).
    NOTE: As with needle bearing in center case, above installation procedure will set needle bearing at a position 3 mm before it hits case bottom.

    Special tool 

    (A): 09951-76010 

    Fig 4: Installing Needle Bearing Into Rear Case
    G02257567Courtesy of SUZUKI OF AMERICA CORP.
  5. Using special tool and hammer, install oil seal (1) into rear case (2) until it becomes flush with case surface. Apply grease "A" to oil seal lip.

    "A": Grease 99000-25010 

    Special tool 

    (B): 09913-75520 

    Fig 5: Installing Oil Seal Into Rear Case
    G02257568Courtesy of SUZUKI OF AMERICA CORP.
  6. Install rear case plate (1) and bolt (2) applying thread lock cement "B".
    NOTE: Removal of rear case plate is not required normally. However, if it is removed or replaced, install it with bolt applied with thread lock cement.

    "B": Thread lock cement 99000-32020 

    Tightening torque 

    Rear case plate bolt (a): 8 N.m (0.8 kg-m, 6.0 lb-ft) 

    Fig 6: Installing Rear Case Plate And Bolt
    G02257569Courtesy of SUZUKI OF AMERICA CORP.
  7. Using hydraulic press and special tools, install bearings (2) to front shaft (1). Bearings for both front and rear are identical.

    Special tool 

    (C): 09913-84510 

    Fig 7: Installing Bearings To Front Shaft
    G02257570Courtesy of SUZUKI OF AMERICA CORP.
  8. Using hydraulic press, drive output front shaft assembly (2) into center case (1).
    Fig 8: Installing Output Front Shaft Assembly Into Center Case
    G02257571Courtesy of SUZUKI OF AMERICA CORP.
  9. Using hydraulic press and special tools, install bearing No. 1 (1) into output rear shaft (2). Place circlip portion of bearing on top as shown in the figure. See Fig 9 .

    Special tool 

    (D): 09925-18010 

    (E): 09940-53111 

    Fig 9: Installing Bearing No. 1 Into Output Rear Shaft
    G02257572Courtesy of SUZUKI OF AMERICA CORP.
  10. Install needle bearing (3) and output low gear (4) and then press-fit reduction clutch hub (5) onto output rear shaft (1) by using hydraulic press and special tool and secure them with circlip (6). Hub has specific installing direction.

    Special tool 

    (D): 09925-18010 

    (E): 09940-53111 

    Fig 10: Installing Needle Bearing And Output Low Gear
    G02257573Courtesy of SUZUKI OF AMERICA CORP.
  11. Combine special tools and press-fit output rear shaft assembly into center case (1).
    NOTE: Use special tool (F) with its under-cut side faced down (toward bearing).

    Special tool 

    (D): 09925-18010 

    (E): 09940-53111 

    (F): 09951-26010 

    Fig 11: Installing Output Rear Shaft Assembly Into Center Case
    G02257574Courtesy of SUZUKI OF AMERICA CORP.
  12. Install fork to corresponding shift shaft.
    Fig 12: Installing Fork To Corresponding Shift Shaft
    G02257575Courtesy of SUZUKI OF AMERICA CORP.
  13. Fit sleeve to front drive clutch hub (1), place 3 synchronizer keys (4) (if equipped) in it and then set synchronizer springs (3) (if equipped). When installing, note that front drive clutch hub (1) and sleeve (2) have specific installing direction.
    NOTE: Make sure that bent end of synchronizer spring is inserted into hole (if equipped).
    Fig 13: Installing Sleeve To Front Drive Clutch Hub
    G02257576Courtesy of SUZUKI OF AMERICA CORP.
  14. Install front drive fork shaft assembly (5) and sleeve (7) and hub (8) together into center case all at once. Then put locating ball (4) and spring (3) also into case and loosely install bolt (1).
    Fig 14: Installing Front Drive Fork Shaft Assembly And Sleeve
    G02257577Courtesy of SUZUKI OF AMERICA CORP.
  15. With the outer ring (5), spring (4) (if equipped), cone (6) and the inner ring (7) put together and installed to sprocket gear (2) as shown in the figure, install them together with chain (3) to output rear shaft (1).
    Fig 15: Installing Sprocket Gear With Chain To Output Rear Shaft
    G02257578Courtesy of SUZUKI OF AMERICA CORP.
  16. Install needle bearing (3) and bush (4) to sprocket (2). Also install steel ball (1), using care not to drop it.
    NOTE:
    • Point mark on output rear shaft between positions of bearing No. 2 and speedometer drive gear indicates steel ball location in the front.
    • Point mark on bush flange also means position where steel ball is met.
    Fig 16: Installing Needle Bearing And Bush To Sprocket
    G02257579Courtesy of SUZUKI OF AMERICA CORP.
  17. Install synchronizer plate (1).

    Tightening torque 

    Synchronizer plate screw (a): 10 N.m (1.0 kg.m, 7.5 lb-ft) 

    "B": Thread lock cement 99000-32020 

    Fig 17: Installing Synchronizer Plate
    G02257580Courtesy of SUZUKI OF AMERICA CORP.
  18. Using special tool, press-fit bearing No. 2 (1) into output rear shaft. It is necessary to place support base at lower end of shaft.

    Special tool 

    (D): 09925-18010 

    (G): 09926-68310 

    Fig 18: Installing Bearing No. 2 Into Output Rear Shaft
    G02257581Courtesy of SUZUKI OF AMERICA CORP.
  19. After installing large size circlip (4), install speedometer drive gear (3) and secure it with small size circlip (2).
    Fig 19: Installing Speedometer Drive Gear
    G02257582Courtesy of SUZUKI OF AMERICA CORP.
  20. Install interlock steel ball (1).
    Fig 20: Installing Interlock Steel Ball
    G02257583Courtesy of SUZUKI OF AMERICA CORP.
  21. Fit sleeve (2) to reduction clutch hub (1).
    NOTE:
    • Circumferential groove mark (thicker rail side which works as shift stopper) should be inside (rear).
    • Hub has no specific direction.
    Fig 21: Installing Sleeve To Reduction Clutch Hub
    G02257584Courtesy of SUZUKI OF AMERICA CORP.
  22. Combine sleeve (8) and hub to reduction shift shaft assembly (6) and install them into center case (9). Then put locating ball (4) and spring (3) also into case and loosely install bolt (1).
  23. With sealant applied to rubber plug (5), insert it into hole in case.
    NOTE: When installing reduction shift shaft, front drive shift shaft must be placed at 4WD position.

    "C": Sealant 99000-31110 

    Fig 22: Inserting Rubber Plug Into Hole In Case
    G02257585Courtesy of SUZUKI OF AMERICA CORP.
  24. If friction ring (2) has been removed from counter shaft (1), press-fit new one onto shaft, using care so that it is installed in proper direction and position as shown in the figure.

    Special tool 

    (K): 09913-80112 

    Installing position "a"

    39.5 mm (1.56 in.) 

    Fig 23: Removing Friction Ring From Counter Shaft
    G02257586Courtesy of SUZUKI OF AMERICA CORP.
  25. Install needle bearing (3), spacer (4), counter gear (2), steel balls (5) and washers (1) onto shaft (6).
    NOTE: Washers must be installed with its oil slot side facing gear.
    Fig 24: Installing Needle Bearing, Spacer, Counter Gear, Steel Balls And Washers Onto Shaft
    G02257587Courtesy of SUZUKI OF AMERICA CORP.
  26. Install countershaft assembly into case. If O-ring (5) has been removed, install new O-ring onto shaft (3) and apply grease "A".

    Also, install low gear needle bearing (1).

    "A": Grease 99000-25010 

    Fig 25: Installing O-Ring Onto Shaft
    G02257588Courtesy of SUZUKI OF AMERICA CORP.
  27. With circlip (2) placed on input gear (1), press-fit input gear bearing (3).
  28. Fix bearing with circlip (4).

    Special tool 

    (D): 09925-18010 

    (E): 09940-53111 

    (H): 09900-06107 

    Fig 26: Installing Input Gear Bearing
    G02257589Courtesy of SUZUKI OF AMERICA CORP.
  29. Install oil seal (1) to front case (2) so that end surface of oil seal becomes flush with that case. Apply grease "A" to oil seal lip.

    "A": Grease 99000-25010 

    Special tool 

    (B): 09913-75520 

    Fig 27: Installing Oil Seal To Front Case
    G02257590Courtesy of SUZUKI OF AMERICA CORP.
  30. Using special tool, drive input gear assembly (2) into front case (1).

    Special tool 

    (I): 09951-16080 

    Fig 28: Installing Drive Input Gear Assembly Into Front Case
    G02257591Courtesy of SUZUKI OF AMERICA CORP.
  31. Fix with circlip (1) by means of snap ring pliers.

    Special tool 

    (J): 09900-06108 

    Fig 29: Installing Circlip
    G02257592Courtesy of SUZUKI OF AMERICA CORP.
  32. Oil to rotating parts and clean mating surfaces of center case (1) and front case (2).
  33. Apply sealant "C" to mating surface of front case (2) evenly and put cases together.
    NOTE:
    • For smooth installation of front case, apply grease to counter shaft O-ring.
    • When mating front case, make sure that input gear meshes with counter gear first.

    "C": Sealant 99000-31110 

    Fig 30: Applying Sealant To Mating Surface Of Front Case
    G02257593Courtesy of SUZUKI OF AMERICA CORP.
  34. Torque 9 front case bolts (2) to specification.
  35. Torque counter shaft plate fixing bolt (1) applied with thread lock cement to specification.
    NOTE:
    • After tightening bolts, check input gear and output rear shaft for smooth rotation by hand at low and high speed position.
    • Also check front drive shift for proper operation.

    "B": Thread lock cement 99000-32020 

    Tightening torque 

    Countershaft plate bolt (c): 23 N.m (2.3 kg.m, 17.0 lb-ft) 

    Front case bolt (d): 23 N.m (2.3 kg.m, 17.0 lb-ft) 

    Fig 31: Tightening Front Case Bolts
    G02257594Courtesy of SUZUKI OF AMERICA CORP.
  36. Before assembling rear case (2), shim adjustment is required. Follow steps described in the following.

    "C" (Clearance) = "A" - "B"

    Fig 32: Identifying Shim Adjustment
    G02257595Courtesy of SUZUKI OF AMERICA CORP.
    1. Measure rear case (1) dimension "A" (from mating surface to bearing bore bottom) by using straightedge (2) and vernier caliper. Width of straightedge "D" plus "A" is obtained.
      Fig 33: Measuring Rear Case Dimension
      G02257596Courtesy of SUZUKI OF AMERICA CORP.
    2. Place straightedge on bearing No. 2 (2) securely and measure bearing height "B" (from center case (1) mating surface to No. 2 bearing top).
      CAUTION: Bridging straightedge between No. 2 bearing and output front shaft bearing brings misreading.
    3. Obtain clearance "C" in the following calculation. "C" = ("A" + "D") - ("B" + "D")
    4. Select a shim from among the following available sizes and install it in bearing bore of rear case.
      CAUTION: Installing of over sized shim beyond specification in the following table may cause tight rotation of rear shaft and consequential bearing damage.
    Fig 34: Shim Specification
    G02257597Courtesy of SUZUKI OF AMERICA CORP.
    Fig 35: Installing Shim In Bearing Bore Of Rear Case
    G02257598Courtesy of SUZUKI OF AMERICA CORP.
  37. Clean mating surfaces of both center (2) and rear (1) cases again, apply sealant "C" to mating surface of rear case, and put them together.

    "C": Sealant 99000-31110 

    Fig 36: Identifying Clean Mating Surfaces
    G02257599Courtesy of SUZUKI OF AMERICA CORP.
  38. Torque 15 rear case bolts (2) to specification.
    NOTE: After tightening bolts, provisionally install universal joint flange into rear shaft and check to make sure smooth rotation of shaft.

    Tightening torque 

    Rear case bolt (e): 23 N.m (2.3 kg-m, 17.0 lb-ft) 

    Fig 37: Tightening Rear Case Bolts
    G02257600Courtesy of SUZUKI OF AMERICA CORP.
  39. For transfer for manual transmission, perform the following procedure.
    1. With reduction shift shaft shifted to high speed side, fit yoke to shaft and install return spring (2) as shown in the figure. Tighten bolt (1) to specified torque.

      Tightening torque 

      Select return spring bolt (f): 5.5 N.m (0.55 kg.m, 4.0 lb-ft) 

    2. Fix reduction shift yoke with spring pin (4) while aligning shift yoke with shift shaft as shown in the figure.
    Fig 38: Installing Reduction Shift Yoke With Spring Pin
    G02257601Courtesy of SUZUKI OF AMERICA CORP.
  40. For transfer for A/T, perform the following procedure.
    1. With reduction shift shaft (1) shifted to left (at high speed side) as shown in figure, fit yoke (2) to shaft (1) and fix it with spring pin.
      NOTE: Be careful not to let spring pin fall off.
    2. Torque locating spring bolts (4) of shifters to specification.

      Tightening torque 

      Locating spring bolt (g): 26 N.m (2.6 kg.m, 19.0 lb-ft) 

    Fig 39: Tightening Spring Bolts
    G02257602Courtesy of SUZUKI OF AMERICA CORP.
  41. Install steel balls (1) and 4WD (2) / 4WD-LOW switches.

    Tightening torque 

    4WD switch (h): 20 N.m (2.0 kg.m, 14.5 lb-ft) 

    4WD-LOW switch: 20 N.m (2.0 kg.m, 14.5 lb-ft) 

    Fig 40: Installing Steel Balls And 4WD / 4WD-LOW Switches
    G02257603Courtesy of SUZUKI OF AMERICA CORP.
  42. Fix lead of 4WD switch (1) with clamp.
  43. Apply grease to select return system parts and install them. Then torque select return spring bolt (5) to specification (For transfer with A/T).

    : Grease 99000-25010 

    Tightening torque 

    Select return spring bolt (A/T) (i): 35 N.m (3.5 kg.m, 25.5 lb-ft) 

  44. Clean mating surfaces of both gear shift lever case (7) and rear case, and with sealant "C" applied to mating surface of gear shift lever case, push both cases together.

    "C": Sealant 99000-31110 

  45. Torque gear shift lever case bolts to specification.

    Tightening torque 

    Gear shift lever case bolt (j): 13 N.m (1.3 kg.m, 9.5 lb-ft) 

    Fig 41: Tightening Gear Shift Lever Case Bolts
    G02257604Courtesy of SUZUKI OF AMERICA CORP.
  46. Install gear shift control lever temporarily and check to make sure that it shifts to each shift position smoothly. Also check shaft for rotation.
  47. Confirm 4WD switch (2) has turned ON at "4WD" position ("4H" and "4L") by using ohmmeter (1).
    Fig 42: Installing Gear Shift Control Lever
    G02257605Courtesy of SUZUKI OF AMERICA CORP.
  48. Confirm 4WD LOW switch has turned ON at 4WD LOW and Neutral position.
    Fig 43: Identifying 4WD LOW And Neutral Position
    G02257606Courtesy of SUZUKI OF AMERICA CORP.
  49. Upon completion of above checks, remove shift control lever.