lemon-mirror:
Home >> Suzuki >> 2005 >> Aerio S, Automatic >> Repair and Diagnosis >> Engine Performance >> System >> Engine Electrical Devices >> Repair Instructions >> Main Relay Inspection

Main Relay Inspection

  1. Disconnect negative cable at battery.
  2. Remove main relay (1) from relay box (2).
    Fig 1: Removing Main Relay From Relay Box
    G04013922Courtesy of SUZUKI OF AMERICA CORP.
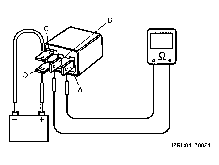
  3. Check resistance between each two terminals as follows. If check results are as specified, proceed to next operation check. If not, replace.

    Main relay resistance 

    Between terminals "A" and "B": (Infinity) 

    Between terminals "C" and "C": 160 - 240 ohm 

    Fig 2: Checking Resistance Between Main Relay Terminals
    G04013923Courtesy of SUZUKI OF AMERICA CORP.
  4. Check that there is continuity between terminals "A" and "B" when battery is connected to terminals "C" and "D".

    If found defective, replace.

    Fig 3: Checking Continuity Between Main Relay Terminals
    G04013924Courtesy of SUZUKI OF AMERICA CORP.