lemon-mirror:
Home >> Suzuki >> 2005 >> Reno EX >> Repair and Diagnosis >> Transmission >> Automatic Trans >> Automatic Transmission >> Diagnostic Information and Procedures >> DTC P0601 Internal Control Module Memory Checksum Error >> Notes

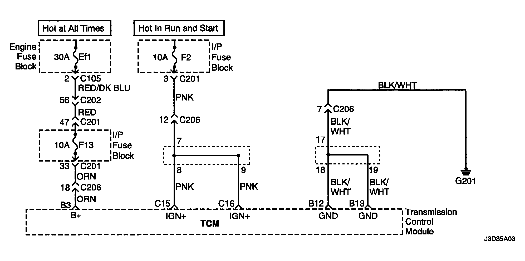
DTC P0601 Internal Control Module Memory Checksum Error: Notes

Fig 1: DTC P0601 Internal Control Module Memory Checksum Error Circuit
G04103457Courtesy of SUZUKI OF AMERICA CORP.