lemon-mirror:
Home >> Suzuki >> 2005 >> Reno EX >> Repair and Diagnosis >> Transmission >> Automatic Trans >> Automatic Transmission >> Diagnostic Information and Procedures >> DTC P0606 Transaxle Control Module Processor Fault >> Notes

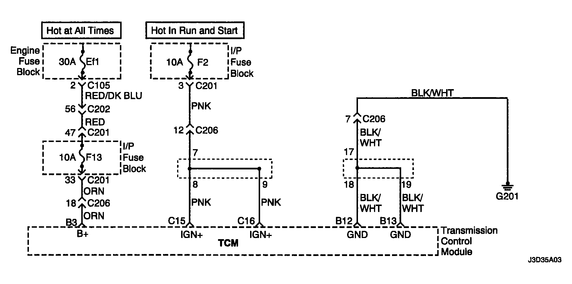
DTC P0606 Transaxle Control Module Processor Fault: Notes

Fig 1: DTC P0606 Transaxle Control Module Processor Fault Circuit
G04103460Courtesy of SUZUKI OF AMERICA CORP.