lemon-mirror:
Home >> Suzuki >> 2005 >> Swift + >> Repair and Diagnosis >> Engine Mechanical >> Engine Exhaust System >> Visual Identification >> Engine Exhaust System Component Views

Engine Exhaust System Component Views

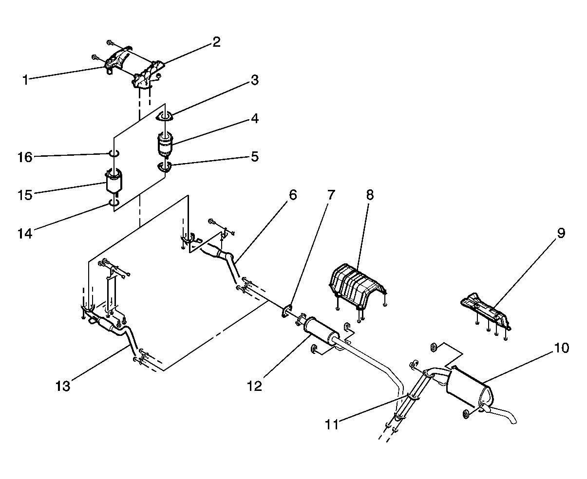
Fig 1: Engine Exhaust System Component View
GM1291911Courtesy of GENERAL MOTORS CORP.
Callout Component Name
1 Exhaust Manifold Shield
2 Exhaust Manifold
3 Exhaust Front Pipe Gasket (Upper)
4 Exhaust Pup Converter (1.4/1.5L SOHC and 1.4/1.6L DOHC)
5 Exhaust Front Pipe Gasket (Lower)
6 Muffler Gasket
7 Exhaust Front Pipe (1.4/1.5L SOHC and 1.4/1.6L DOHC)
8 Underbody Protective Shield (Front Muffler)
9 Underbody Protective Shield (Rear Muffler)
10 Exhaust Rear Muffler
11 Muffler Gasket
12 Exhaust Front Muffler
13 Exhaust Front Pipe (1.2L SOHC)
14 Pup Converter Gasket (Lower)
15 Exhaust Pipe Converter (1.2L SOHC)
16 Pup Converter Gasket (Upper)