lemon-mirror:
Home >> Suzuki >> 2005 >> Verona EX >> Repair and Diagnosis >> Transmission >> Automatic Transmission >> Diagnostic Information and Procedures >> DTC P0604 Internal Control Module Random Access Memory (RAM) Error >> Notes

DTC P0604 Internal Control Module Random Access Memory (RAM) Error: Notes

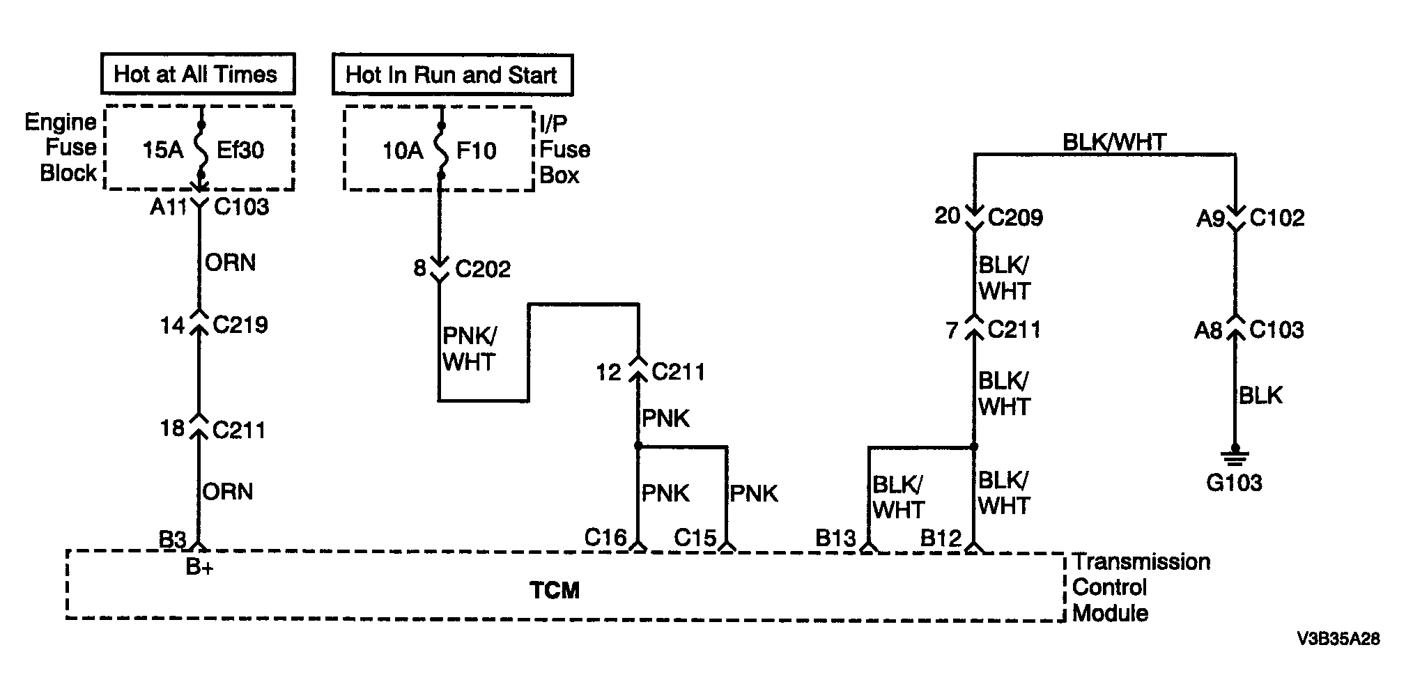
Fig 1: DTC P0604 Internal Control Module Random Access Memory (RAM) Error Circuit
G04095358Courtesy of SUZUKI OF AMERICA CORP.