lemon-mirror:
Home >> Suzuki >> 2005 >> XL-7 EX, RWD >> Repair and Diagnosis >> Engine Performance >> System >> Engine Electrical Devices >> H25 Engine >> Repair Instructions >> Main Relay Inspection

Main Relay Inspection

  1. Disconnect negative cable at battery.
  2. Remove main relay (1) from relay box (2).
    Fig 1: Removing Main Relay From Relay Box
    G04097733Courtesy of SUZUKI OF AMERICA CORP.
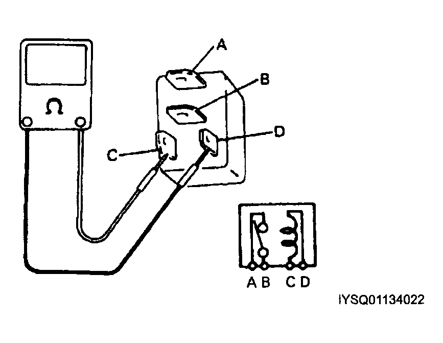
  3. Check for resistance between each two terminals as in table below. If check results are as specified, proceed to next operation check. If not, replace main relay.

    Main relay resistance 

    Between "A" and "B": (Infinity) 

    Between "C" and "D": 79 - 95 ohm at 20°C (68°F) 

    Fig 2: Checking Resistance Between Each Terminals
    G04097734Courtesy of SUZUKI OF AMERICA CORP.
  4. Check for resistance between terminals "A" and "B" when battery is connected to terminals "C" and "D". If check result is not specified, replace main relay.

Main relay resistance with turned on 

Less than 1 ohm 

Fig 3: Checking Resistance Between Terminals
G04097735Courtesy of SUZUKI OF AMERICA CORP.