lemon-mirror:
Home >> Suzuki >> 2006 >> Verona Base >> Repair and Diagnosis >> Engine Performance >> System >> Engine Control System - System And Component Checks, Specifications, Special Tools And Equipment >> Main Relay Circuit Check >> Notes

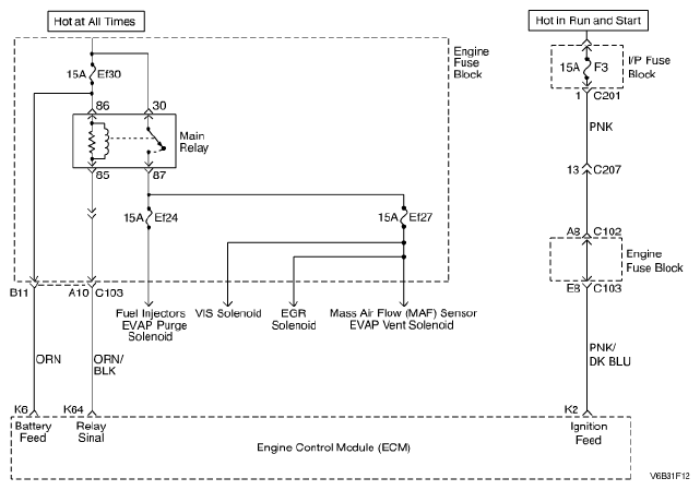
Main Relay Circuit Check: Notes

Fig 1: Main Relay Circuit Check - Wiring Diagram
G04718758Courtesy of SUZUKI OF AMERICA CORP.