lemon-mirror:
Home >> Suzuki >> 2006 >> Verona Base >> Repair and Diagnosis >> Engine Performance >> System >> Engine Control System - System And Component Checks, Specifications, Special Tools And Equipment >> Manifold Absolute Pressure Check >> Notes

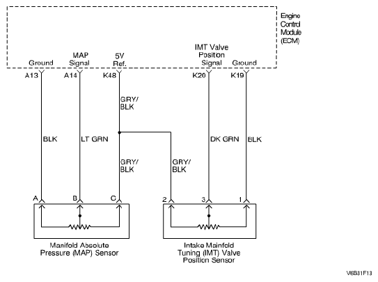
Manifold Absolute Pressure Check: Notes

Fig 1: Manifold Absolute Pressure Check - Wiring Diagram
G04718651Courtesy of SUZUKI OF AMERICA CORP.