lemon-mirror:
Home >> Suzuki >> 2007 >> SX4 Base, Automatic >> Repair and Diagnosis >> Engine Performance >> Fuel Delivery >> Fuel System >> General Description >> Fuel Pump

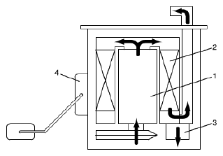
Fuel Pump

The fuel pump (1) is an in-tank type electric pump. Incorporated in the pump assembly are; a fuel filter (2), a fuel pressure regulator (3) and a fuel level sensor (gauge) (4).

Fig 1: Fuel Pump Operation Diagram
G04847009Courtesy of SUZUKI OF AMERICA CORP.