lemon-mirror:
Home >> Suzuki >> 2007 >> SX4 Base, Automatic >> Repair and Diagnosis >> Engine Performance >> Fuel Delivery >> Fuel System >> Repair Instructions >> Fuel Injector Inspection

Fuel Injector Inspection

Reference: FUEL INJECTOR REMOVAL AND INSTALLATION 

WARNING:
  • Before starting the following procedure, be sure to observe Precautions on Fuel System Service  in order to reduce the risk of fire and personal injury.
  • Put injector and battery as far away as possible in order to reduce risk of fire and personal injury when connecting/disconnecting test lead to/from battery.
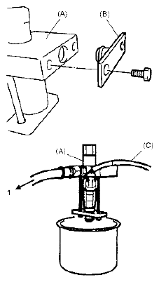
  1. Install injector to special tool (injector checking tool).

    Special Tool 

    1. 09912-58421 
    2. 09912-57610 
  2. Connect special tools (hose and attachment) to fuel feed pipe (1) of vehicle.
  3. Connect special tool (test lead) to injector.

    Special Tool 

    (C): 09930-88530 

    Fig 1: Identifying Special Tools
    G04847026Courtesy of SUZUKI OF AMERICA CORP.
  4. Install suitable vinyl tube onto injector nozzle to prevent fuel from splashing out when injecting.
  5. Put graduated cylinder under injector.
  6. Operate fuel pump and apply fuel pressure to injector as follows:
    1. When using scan tool:
      1. Connect scan tool to DLC with ignition switch OFF.
      2. Turn ignition switch ON, clear DTC and select "Active Test" mode on scan tool.
      3. Turn fuel pump ON by using scan tool.

        Special Tool 

        (A): SUZUKI scan tool (SUZUKI-SDT) 

        Fig 2: Identifying Scan Tool Service Wire
        G04847027Courtesy of SUZUKI OF AMERICA CORP.
    2. When not using scan tool:
      1. Remove fuel pump relay from connector.
      2. Connect two terminals of relay connector using service wire (1) as shown in figure.
        CAUTION: Check to make sure that connection is made between correct terminals. Wrong connection can cause damage to ECM, wire harness, etc.
      3. Turn ignition switch ON.
        Fig 3: Identifying Injector Relay Terminals
        G04847028Courtesy of SUZUKI OF AMERICA CORP.
  7. Apply battery voltage to injector (1) for 15 seconds and measure injected fuel volume with graduated cylinder. Test each injector two or three times. If injected volume is out of reference value greatly, replace injector.

    Reference injected fuel volume 

    Approx. 65 cc/15 sec. (2.20/2.29 US/lmp oz/15 sec.) 

  8. Check fuel leakage from injector nozzle. Do not operate injector for this check (but fuel pump should be at work). If fuel leaks (1) more than the following specifications, replace.

    Fuel leakage 

    Less than 1 drop/min  .

    Fig 4: Checking Fuel Leakage From Injector Nozzle
    G04847029Courtesy of SUZUKI OF AMERICA CORP.