lemon-mirror:
Home >> Suzuki >> 2007 >> SX4 Base, Automatic >> Repair and Diagnosis >> Transmission >> Transfer Case >> Repair Instructions >> Transfer Oil Level Check

Transfer Oil Level Check

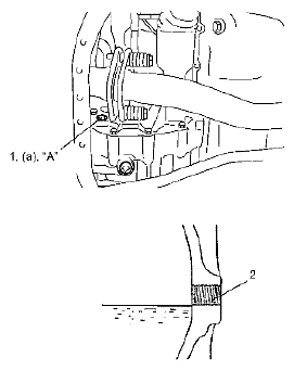
  1. Lift up vehicle and check oil leakage.
  2. Remove oil level / filler plug (1) and check oil level is lower end of oil level / filler plug hole (2). If oil is insufficient, pour specified oil up to plug hole.
  3. Apply sealant to thread of level / filler plug, and then tighten it to specified torque.

    "A": Sealant 99000-31260SUZUKI Bond No.1217G 

    Tightening torque 

    Transfer oil level / filler plug a: 23 N.m (2.3 kg-m, 17.0 lb-ft) 

    Fig 1: Identifying Filler Plug And Filler Plug Hole
    G04847423Courtesy of SUZUKI OF AMERICA CORP.