lemon-mirror:
Home >> Suzuki >> 2008 >> XL7 Base, FWD >> Repair and Diagnosis >> Engine Performance >> Fuel Delivery >> Fuel System >> General Description >> Fuel System Description >> Fuel System Overview >> Secondary Fuel Tank Module

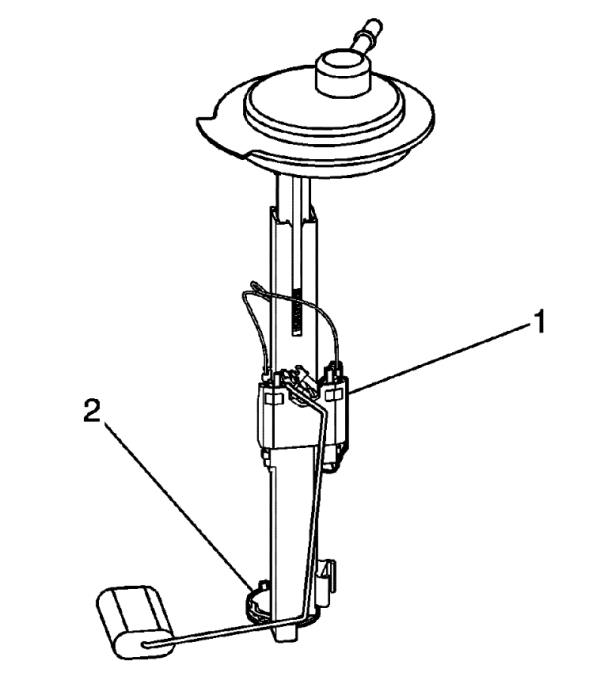
Secondary Fuel Tank Module

Fig 1: Identifying Fuel Lever Sensor And Fuel Pick-Up
G00489787Courtesy of SUZUKI OF AMERICA CORP.

The secondary fuel tank module is located inside of the left side of the fuel tank. The secondary fuel tank module consists of the following major components: