lemon-mirror:
Home >> Suzuki >> 2011 >> Grand Vitara Base >> Repair and Diagnosis >> Engine Performance >> Engine Control Systems >> Engine Electrical Devices >> Repair Instructions >> APP (Accelerator Pedal Position) Sensor Inspection

APP (Accelerator Pedal Position) Sensor Inspection

  1. Remove Accelerator Pedal assembly.
  2. Check APP sensor output voltage as follows.

    If faulty condition is found, replace accelerator pedal assembly (incorporated with APP sensor). See ACCELERATOR PEDAL ASSEMBLY (INCORPORATING APP SENSOR) REMOVAL AND INSTALLATION .

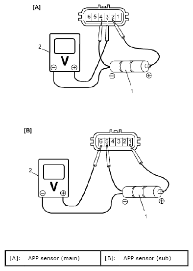
    1. Connect 3 new 1.5 V batteries (1) in series and check that total voltage is 4.5 - 5.0 V.
    2. Connect voltmeter (2) and batteries to APP sensor as shown in figure.
      Fig 1: Checking APP Sensor Output Voltage
      G06492596Courtesy of SUZUKI OF AMERICA CORP.
    3. Check that voltage varies depending on accelerator opening angle as the following graph.
      Fig 2: Voltage Output Graph
      G06492597Courtesy of SUZUKI OF AMERICA CORP.