lemon-mirror:
Home >> Suzuki >> 2011 >> Grand Vitara Base >> Repair and Diagnosis >> Engine Performance >> Fuel Delivery >> Fuel System >> Repair Instructions >> Sub Fuel Level Sensor Removal and Installation >> Notes

Sub Fuel Level Sensor Removal and Installation: Notes

CAUTION:
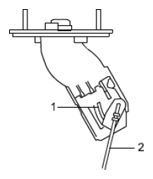
  • Do not touch resister plate (1) and deform arm (2). It may cause sub fuel level sensor to fail.
Fig 1: Identifying Resister Plate And Deform Arm
G06493433Courtesy of SUZUKI OF AMERICA CORP.