lemon-mirror:
Home >> Suzuki >> 2011 >> SX4 Base, Standard >> Repair and Diagnosis >> Electrical >> Charging Systems >> Repair Instructions >> Generator Disassembly and Reassembly >> Disassembly

Generator Disassembly and Reassembly: Disassembly

  1. For easier reinstallation, provide match marks (3) on drive end frame (1) and rear end frame (2) as shown.
    Fig 1: Identifying Matching Marks On Drive End Frame And Rear End Frame
    G06867277Courtesy of SUZUKI OF AMERICA CORP.
  2. Remove end frame bolts (1) from generator.
    Fig 2: Removing End Frame Bolts From Generator
    G06867278Courtesy of SUZUKI OF AMERICA CORP.
  3. With lever (1) inserted between stator core (2) and drive end frame (3), separate generator into drive end frame (3) and rear side.
    Fig 3: Inserting Between Stator Core And Drive End Frame
    G06867279Courtesy of SUZUKI OF AMERICA CORP.
  4. Remove pulley as follows.
    • M/T model
      1. Hold rotor (2) using vise (4).
        CAUTION: The rotor may be damaged if it is not held in a vise in the specified method and at the indicated parts when loosening the pulley nut. Be sure to hold the rotor in the vise via a clean cloth at the iron parts (A). Never hold the rotor at other parts (B).
      2. Loosen pulley nut and remove pulley (1).
        Fig 4: Identifying Pulley Nut And Pulley
        G06867280Courtesy of SUZUKI OF AMERICA CORP.
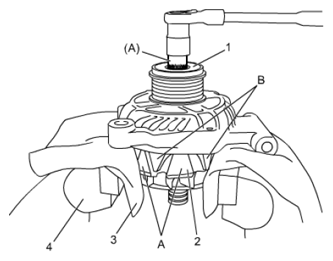
    • CVT model
      1. Hold rotor (2) using vise (4) via clean cloth (3).
        NOTE: The rotor may be damaged if it is not held in a vise in the specified method and at the indicated parts when loosening the pulley nut. Be sure to hold the rotor in the vise via a clean cloth at the iron parts (A). Never hold the rotor at other parts (B).
      2. Remove pulley (1) using special tool.

        Special Tool 

        (A): 09932-96510 

        Fig 5: Removing Pulley Using Special Tool
        G06867281Courtesy of SUZUKI OF AMERICA CORP.
  5. Remove drive end frame from rotor.
  6. Remove bearing retainer screws (1) and bearing retainer.
    Fig 6: Removing Bearing Retainer Screws And Bearing Retainer
    G06867282Courtesy of SUZUKI OF AMERICA CORP.
  7. Remove drive end bearing from drive end frame (1) using special tool and hydraulic press (2).

    Special Tool 

    (A): 09943-88211 

    Fig 7: Removing Drive End Bearing From Drive End Frame Using Special Tool And Hydraulic Press
    G06867283Courtesy of SUZUKI OF AMERICA CORP.
  8. Remove rear end bearing (1) using hydraulic press (2), general rod (3) and general tool (4).
    Fig 8: Removing Rear End Bearing Using Hydraulic Press General Rod And General Tool
    G06867284Courtesy of SUZUKI OF AMERICA CORP.
  9. Remove three screws (1) and generator "B" terminal nut (2).
    Fig 9: Removing Three Screws And Generator "B" Terminal Nut
    G06867285Courtesy of SUZUKI OF AMERICA CORP.
  10. Remove stator with IC regulator assembly and rectifier assembly from rear end frame.
  11. Unsolder stator leads (1) and remove stator (2) from rectifier assembly.
    Fig 10: Identifying Stator Leads And Stator
    G06867286Courtesy of SUZUKI OF AMERICA CORP.
  12. To remove brush, remove holder (1) from brush holder (2) and then disconnect brush wire (3) from regulator terminal using soldering iron.
    Fig 11: Removing Brush And Brush Holder
    G06867287Courtesy of SUZUKI OF AMERICA CORP.