lemon-mirror:
Home >> Suzuki >> 2012 >> Grand Vitara Base >> Repair and Diagnosis >> Body & Frame >> Door Locks >> Keyless Start System >> Repair Instructions >> Remote Controller Inspection

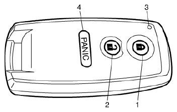
Remote Controller Inspection

Check that remote controller operation indicator light (3) lights up when lock (1), unlock (2) or panic (4) button of remote controller is pushed.

If it does not light up in this check, replace battery and then recheck. If it does not light up even after battery replacement, replace remote controller.

NOTE: When remote controller transmits lock, unlock or panic signal, it makes operation indicator light up.
Fig 1: Identifying Remote Controller Operation Indicator Light, Lock, Unlock And Panic Button
G08899798Courtesy of SUZUKI OF AMERICA CORP.