Main Fuel Level Sensor Removal and Installation: Notes
WARNING:
Failure to take proper precautions when removing or installing the fuel level sensor can result in fuel leaks and/or damage.
To prevent fuel leaks, be careful not to damage the fuel tube fitting section (sealed section in the bore). If it is damaged, replace the fuel pump.
To prevent fuel leaks, be careful not to damage the fuel tube fitting section (sealed section in the bore). If it is damaged, replace the fuel pump.
NOTE:
Failure to take proper precautions when removing or installing the fuel level sensor can result in damage.
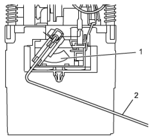
To prevent failure of the fuel level sensor, be careful not to touch the resister plate (1) or deforming the arm (2) when performing the service operations described below.
To prevent failure of the fuel level sensor, be careful not to touch the resister plate (1) or deforming the arm (2) when performing the service operations described below.