lemon-mirror:
Home >> Suzuki >> 2012 >> Grand Vitara Base >> Repair and Diagnosis >> Engine Performance >> Fuel Delivery >> Fuel System >> Repair Instructions >> Sub Fuel Level Sensor Removal and Installation >> Notes

Sub Fuel Level Sensor Removal and Installation: Notes

NOTE: Failure to take proper precautions when removing or installing the fuel level sensor can result in fuel leaks and/or damage.
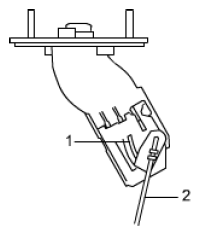
To prevent failure of the fuel level sensor, be careful not to touch the resistor plate (1) or deforming the arm (2) when performing the service operations described below.
Fig 1: Identifying Resistor Plate And Arm
G08893905Courtesy of SUZUKI OF AMERICA CORP.