lemon-mirror:
Home >> Suzuki >> 2012 >> SX4 Base >> Repair and Diagnosis >> Body & Frame >> Glass/Windows/Mirrors >> Repair Instructions >> Power Window Sub Switch Inspection

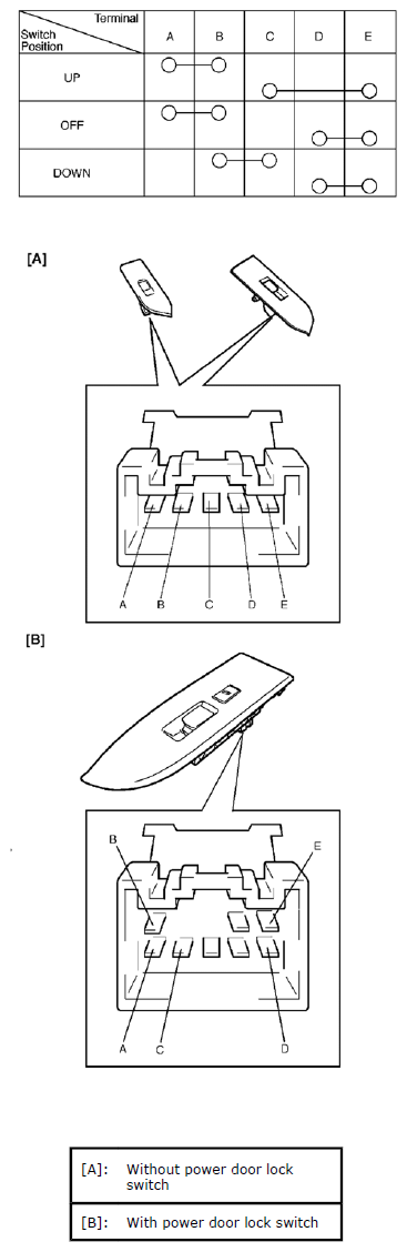
Power Window Sub Switch Inspection

  1. Remove front door trim from door panel, refer to Step 1) to 3) of FRONT DOOR GLASS REMOVAL AND INSTALLATION .
  2. Remove power window sub switch from door trim.
  3. Check for continuity between terminals at each switch condition.

If check result is not as specified, replace switch.

Fig 1: Inspecting Power Window Sub Switch
G06868879Courtesy of SUZUKI OF AMERICA CORP.