lemon-mirror:
Home >> Suzuki >> 2012 >> SX4 Base >> Repair and Diagnosis >> Electrical >> Charging Systems >> Repair Instructions >> Generator Inspection >> Rotor

Generator Inspection: Rotor

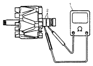
  1. Using ohmmeter (1), check for continuity between slip rings (2) of rotor. If there is no continuity, replace rotor.

    Standard resistance between slip rings of rotor 

    2.5 - 3.0 Ω 

    Fig 1: Checking Resistance Between Slip Rings Of Rotor
    G06867292Courtesy of SUZUKI OF AMERICA CORP.
  2. Using ohmmeter (1), check that there is no continuity between slip ring (2) and rotor core (3). If there is continuity, replace rotor.
    Fig 2: Checking Continuity Between Slip Ring And Rotor Core
    G06867293Courtesy of SUZUKI OF AMERICA CORP.
  3. Check slip rings and rotor fan surface for roughness or scoring. If they are rough or scored, replace rotor.