lemon-mirror:
Home >> Suzuki >> 2012 >> SX4 Base >> Repair and Diagnosis >> Electrical >> Starter >> Starting System >> Repair Instructions >> Starting Motor Control Relay Inspection

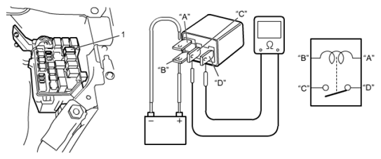
Starting Motor Control Relay Inspection

  1. Disconnect negative (-) cable from battery.
  2. Remove starting motor control relay (1) from fuse box No. 1.
  3. Check that there is no continuity between terminal "C" and "D".

    If there is continuity, replace starting motor control relay.

  4. Connect service wire between battery positive (+) terminal and relay terminal "B". Connect service wire between battery negative (-) terminal and relay terminal "A".

    Check for continuity between terminal "C" and "D".

    If there is no continuity when relay is connected to the battery, replace starting motor control relay.

    Fig 1: Checking Starting Motor Control Relay Continuity
    G06867218Courtesy of SUZUKI OF AMERICA CORP.