lemon-mirror:
Home >> Suzuki >> 2012 >> SX4 Base >> Repair and Diagnosis >> Engine Performance >> Engine Control Systems >> Engine Electrical Devices >> Repair Instructions >> Camshaft Position (CMP) Sensor Inspection >> Performance Check

Performance Check

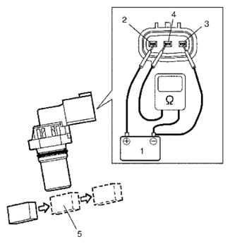
  1. Remove metal particles on end face of CMP sensor, if any.
  2. Arrange 12 V battery (1) and connect its positive terminal to "Vin" terminal (2) and negative terminal to "Ground" terminal (3) of sensor. Then using ohmmeter, measure resistance between "Vout" terminal (4) of sensor and negative terminal of battery by passing magnetic substance (iron) (5) while keeping approximately 1 mm (0.03 in.) gap with respect to end face of CMP sensor.

    If resistance does not vary as specified below, replace CMP sensor.

    CMP sensor resistance 

    Resistance varies from less than 220 Ω (ON) to infinity (OFF) or from infinity (OFF) to less than 220 Ω (ON) 

    Fig 1: Checking CMP Sensor Resistance
    G06868203Courtesy of SUZUKI OF AMERICA CORP.