lemon-mirror:
Home >> Suzuki >> 2012 >> SX4 Base >> Repair and Diagnosis >> Engine Performance >> Fuel Delivery >> Fuel System >> General Description >> Fuel Pump Description

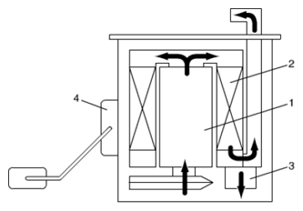
Fuel Pump Description

The fuel pump (1) is an in-tank type electric pump. Incorporated in the pump assembly are; a fuel filter (2), a fuel pressure regulator (3) and a fuel level sensor (4).

Fig 1: Identifying Fuel Pump Function
G06867157Courtesy of SUZUKI OF AMERICA CORP.