Fuel Level Sensor Inspection
Reference: FUEL LEVEL SENSOR REMOVAL AND INSTALLATION
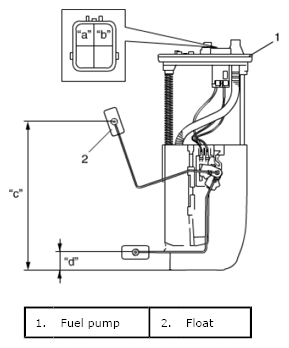
- Check that resistance between terminals "a" and "b" of fuel level sensor changes with change of float position.
- Check resistance between terminals "a" and "b" at each float position in the following.
If the measured value is out of specification, replace.
Fuel level sensor specifications
FUEL LEVEL SENSOR SPECIFICATIONSFloat Position Resistance (Ω) Full Upper "c" 204 mm (8.03 in.) 40 ± 2 Full Lower "d" 32 mm (1.26 in.) 280 ± 3.3