lemon-mirror:
Home >> Suzuki >> 2012 >> SX4 Base >> Repair and Diagnosis >> Engine Performance >> Fuel Delivery >> Fuel System >> Repair Instructions >> Fuel Pump Assembly Removal and Installation >> Notes

Fuel Pump Assembly Removal and Installation: Notes

WARNING: When performing the following procedure, be sure to observe Precautions on Fuel System Service  and PRECAUTIONS FOR ENGINE in order to reduce the risk of fire and personal injury.

Reference: FUEL PUMP ON-VEHICLE INSPECTION 

Removal 

  1. Remove fuel tank from vehicle. See Fuel Tank Removal and Installation 
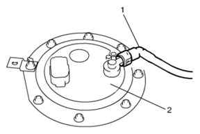
  2. Disconnect fuel feed pipe (1) from fuel pump assembly (2). See Fuel Hose Disconnecting and Reconnecting 
    Fig 1: Identifying Fuel Feed Pipe And Fuel Pump Assembly
    G06867202Courtesy of SUZUKI OF AMERICA CORP.
  3. Remove fuel pump assembly and earth bracket from fuel tank.