lemon-mirror:
Home >> Suzuki >> 2012 >> SX4 Base >> Repair and Diagnosis >> Engine Performance >> Fuel Delivery >> Fuel System >> Repair Instructions >> Fuel Pump Relay Inspection

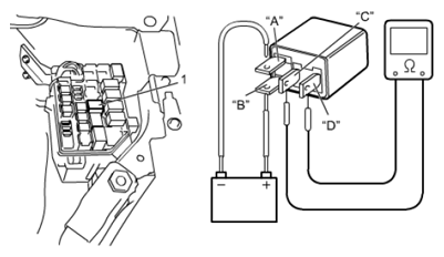
Fuel Pump Relay Inspection

  1. Disconnect negative (-) cable from battery.
  2. Remove fuel pump relay (1) from fuse box No. 1.
  3. Check that there is no continuity between terminal "C" and "D".

    If there is continuity, replace fuel pump relay.

  4. Connect service wire between battery positive (+) terminal and relay terminal "B". Connect service wire between battery negative (-) terminal and relay terminal "A".

    Check for continuity between terminal "C" and "D".

    If there is no continuity when relay is connected to battery, replace fuel pump relay.

    Fig 1: Checking Fuel Pump Relay
    G06867201Courtesy of SUZUKI OF AMERICA CORP.