lemon-mirror:
Home >> Suzuki >> 2012 >> SX4 Base >> Repair and Diagnosis >> Transmission >> Transfer Case >> Transfer Assembly >> Repair Instructions >> Transfer Assembly Disassembly and Reassembly >> Reassembly

Transfer Assembly Disassembly and Reassembly: Reassembly

  1. Select appropriate shim as follows.
    1. Measure distance "a" between taper roller bearing outer races of reduction driven gear assembly (1).
    2. Measure depth "b" of left case (2) and "c" of right case (3).
    3. Obtain adjusting shim thickness by the following equation.
      THICKNESS SPECIFICATIONS

      Necessary shim thickness = Depth "b" + Depth "c" - Distance "a" + 0.1 mm (0.004 in.)
      Fig 1: Measuring Distance "A" Between Taper Roller Bearing Outer Races Of Reduction Driven Gear Assembly
      G06867405Courtesy of SUZUKI OF AMERICA CORP.
    4. Select a shim which is close to half thickness of the calculated value (necessary shim thickness) from among the available shims to install it between bearing and case at each of right and left sides.

      For example: 

      Measure distance "a" is 110.75 mm (4.360 in.).

      Measure depth "b" is 85.8 mm (3.378 in.).

      Measure depth "c" is 26.55 mm (1.045 in.).

      Necessary shim thickness = 85.8 mm (3.378 in.) + 26.55 mm (1.045 in.) - 110.75 mm (4.360 in.) + 0.1 mm (0.004 in.) = 1.7 mm (0.067 in.)

      1.7 mm (0.067 in.) ÷ 2 = 0.85 mm (0.033 in.)

      Calculated thickness of new shim = 0.85 mm (0.033 in.)

      Available reduction driven gear shim thickness 

      0.60, 0.65, 0.70, 0.75, 0.80, 0.85, 0.90, 0.95, 1.00 and 1.05 mm (0.024, 0.026, 0.028, 0.030, 0.031, 0.033, 0.035, 0.037, 0.039 and 0.041 in.) 

  2. Clean mating surface of right and left cases, and apply sealant to right case (1) as shown in figure by such amount that its section is 1.2 mm (0.047 in.) in diameter.

    "A": Sealant 99000-31260 (SUZUKI Bond No. 1217G) 

    Fig 2: Identifying Case Grease Application Areas
    G06867406Courtesy of SUZUKI OF AMERICA CORP.
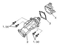
  3. Assemble the following parts in right and left cases by reversing disassembling procedure.
    • Reduction drive gear assembly (1)
    • Reduction driven gear assembly (3)
    • Bearing outer races (2)
    • Reduction driven gear shims (5)
    • Dowel pin (6)
  4. Tighten transfer case bolts (4) to specified torque.

    Tightening torque 

    Transfer case bolt (a): 23 N.m (2.3 kg-m, 17.0 lbf-ft) 

    Fig 3: Identifying Transfer Case Bolts
    G06867407Courtesy of SUZUKI OF AMERICA CORP.
  5. Select bevel pinion shim (3) referring to step  1) of "Reassembly" under TRANSFER OUTPUT RETAINER ASSEMBLY DISASSEMBLY AND REASSEMBLY .
  6. Inspect tooth contact according to BEVEL GEAR TOOTH CONTACT INSPECTION .
  7. Install transfer output retainer assembly (2) with bevel pinion shim (3) to transfer left case (4) by tightening retainer bolt (1) to specified torque.

    Tightening torque 

    Transfer output retainer bolt (a): 55 N.m (5.5 kg-m, 40.0 lbf-ft) 

    Fig 4: Installing Transfer Output Retainer Assembly With Bevel Pinion Shim To Transfer Left Case
    G06867408Courtesy of SUZUKI OF AMERICA CORP.
  8. Install bolt to bolt hole of flange (2), set dial gauge measuring tip at right angles to bolt (1) as shown in figure. Holding reduction driven gear by hand, take measurement backlash of pinion and bevel gear.
    NOTE: If backlash exceeds specification given below, adjust it by changing thickness ratio of shims assembled in right and left cases in Step  3).

    Special Tool 

    1. 09900-20607 
    2. 09900-20701 

    Bevel pinion & bevel gear backlash 

    : 0.1 - 0.2 mm (0.0039 - 0.0078 in.) 

    Fig 5: Installing Bolt To Bolt Hole Of Flange
    G06867409Courtesy of SUZUKI OF AMERICA CORP.
  9. Install intermediate shaft bearing (1) to intermediate shaft (2) by using special tool.

    Special Tool 

    (A): 09913-84510 

    Fig 6: Installing Intermediate Shaft Bearing To Intermediate Shaft
    G06867410Courtesy of SUZUKI OF AMERICA CORP.
  10. Install intermediate shaft (2) with bearing (3) in transfer.
  11. Install new snap ring (1) to transfer right case by using snap ring pliers.
    Fig 7: Installing New Snap Ring To Transfer Right Case
    G06867411Courtesy of SUZUKI OF AMERICA CORP.
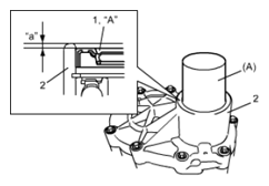
  12. Apply grease to new right case oil seal No. 1 lip.

    "A": Grease 99000-25011 (SUZUKI Super Grease A) 

  13. Drive right case oil seal No. 1 (1) in transfer right case (2) by using special tool and hammer.

    Special Tool 

    (A): 09925-16010 

    Intermediate output oil seal installing depth 

    "a": 1.5 - 2.0 mm (0.059 - 0.078 in.) 

    Fig 8: Checking Intermediate Output Oil Seal Installing Depth
    G06867412Courtesy of SUZUKI OF AMERICA CORP.