lemon-mirror:
Home >> Suzuki >> 2012 >> SX4 Base >> Repair and Diagnosis >> Transmission >> Transfer Case >> Transfer Assembly >> Repair Instructions >> Transfer Output Retainer Assembly Disassembly and Reassembly >> Disassembly

Transfer Output Retainer Assembly Disassembly and Reassembly: Disassembly

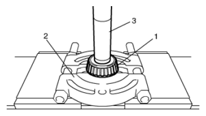
  1. Remove transfer output flange nut while holding flange (1) by using special tool.

    Special Tool 

    (A): 09930-40113 

    Fig 1: Removing Transfer Output Flange Nut Using Special Tool
    G06867425Courtesy of SUZUKI OF AMERICA CORP.
  2. Remove transfer output flange (1) by bearing puller (2).
    Fig 2: Removing Transfer Output Flange By Bearing Puller
    G06867426Courtesy of SUZUKI OF AMERICA CORP.
  3. Drive out bevel pinion (1) from transfer output retainer by tapping it with plastic hammer (2).
    Fig 3: Driving Out Bevel Pinion From Transfer Output Retainer
    G06867427Courtesy of SUZUKI OF AMERICA CORP.
  4. Drive out front taper roller bearing (1) from bevel pinion (3) by using bearing puller (2) and hydraulic press.
    Fig 4: Driving Out Front Taper Roller Bearing From Bevel Pinion
    G06867428Courtesy of SUZUKI OF AMERICA CORP.
  5. Remove oil seal (1) by using special tool.

    Special Tool 

    (A): 09913-50121 

    Fig 5: Removing Oil Seal By Using Special Tool
    G06867429Courtesy of SUZUKI OF AMERICA CORP.
  6. Remove rear taper roller bearing (1), pump seal (3) and spacer (2).
    Fig 6: Removing Rear Taper Roller Bearing, Pump Seal And Spacer
    G06867430Courtesy of SUZUKI OF AMERICA CORP.
  7. Drive out outer races (2) (front and rear) by using brass bar (1).
    Fig 7: Driving Out Outer Races (Front And Rear) By Using Brass Bar
    G06867431Courtesy of SUZUKI OF AMERICA CORP.