lemon-mirror:
Home >> Suzuki >> 2012 >> SX4 Base >> Repair and Diagnosis >> Transmission >> Transfer Case >> Transfer Assembly >> Repair Instructions >> Transfer Output Retainer Assembly Disassembly and Reassembly >> Reassembly

Transfer Output Retainer Assembly Disassembly and Reassembly: Reassembly

CAUTION: Using bolts other than the specified bolts may cause problems with the rear differential. Use only the specified bolts.
  1. To mesh bevel gears correctly, it is prerequired to install bevel pinion to transfer output retainer properly by using adjusting shim (bevel pinion shim) as follows.
    1. Install front taper roller bearing (1) to bevel pinion dummy (special tools).

      Special Tool 

      1. 09922-76140 
      2. 09922-76430 
        Fig 1: Installing Front Taper Roller Bearing To Bevel Pinion Dummy
        G06867432Courtesy of SUZUKI OF AMERICA CORP.
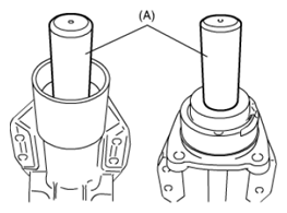
    2. Install bevel pinion dummy (1), rear taper roller bearing (2) and special tools to transfer output retainer (3).

      Special Tool 

      1. 09922-76140 
      2. 09922-76420 
      3. 09922-76340 
      4. 09922-76150 
      NOTE: This installation requires no spacer or oil seal.
      Fig 2: Installing Bevel Pinion Dummy And Rear Taper Roller Bearing
      G06867433Courtesy of SUZUKI OF AMERICA CORP.
    3. Tighten bevel pinion nut (special tool) so that specified bearing preload is obtained.
      NOTE: Before taking measurement, check for rotation by hand more than 15 revolutions.

      Rotational torque of bevel pinion (Bearing preload) 

      0.50 - 1.30 N.m (0.05 - 0.13 kgf-m, 0.35 - 0.95 lbf-ft) 

      Fig 3: Checking Rotational Torque Of Bevel Pinion (Bearing Preload)
      G06867434Courtesy of SUZUKI OF AMERICA CORP.
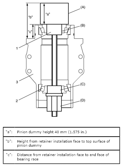
    4. Measure height "b" in figure by using vernier caliper.

      Calculate "c" by using measured value.

      HEIGHT SPECIFICATIONS

      Distance "c" = Height "b" - Height "a" 40 mm (1.575 in.)
      Fig 4: Identifying Height And Distance
      G06867435Courtesy of SUZUKI OF AMERICA CORP.
    5. Obtain adjusting shim thickness by the following equation.
      SHIM THICKNESS SPECIFICATIONS

      Necessary shim thickness "f" = Distance "c" + Distance "d" - Distance "e" 74.0 mm (2.913 in.) 101.95 mm (4.014 in.)
      Fig 5: Identifying Shim Thickness Dimensions
      G06867436Courtesy of SUZUKI OF AMERICA CORP.
    6. Select a shim closest to the calculated value (necessary shim thickness) from among the available shims or combine shims to become closest to calculated value.

      For example: 

      Measure distance "b" is 69.95 mm (2.754 in.).

      "c" = 69.95 mm (2.754 in.) - 40.0 mm (1.757 in.) = 29.95 mm (1.179 in.)

      "f" = 29.95 mm (1.179 in.) + 74.0 mm (2.913 in.) - 101.95 mm (4.014 in.) = 2.0 mm (0.079 in.)

      Calculated thickness of new shim = 2.0 mm (0.079 in.)

      Available bevel pinion shim thickness 

      0.30, 1.85, 1.88, 1.91, 1.94, 1.97, 2.00, 2.03, 2.06, 2.09, 2.12 and 2.15 mm (0.012, 0.072, 0.074, 0.075, 0.076, 0.077, 0.078, 0.079, 0.081, 0.082, 0.083 and 0.084 in.) 

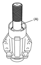
  2. Press-fit outer races (front and rear) by using special tool and hydraulic press.

    Special Tool 

    (A): 09913-75520 

    Fig 6: Fitting Outer Races (Front And Rear) Using Special Tool
    G06867437Courtesy of SUZUKI OF AMERICA CORP.
  3. Press-fit front taper roller bearing (1) by using special tool and hydraulic press.

    Special Tool 

    (A): 09925-18011 

    Fig 7: Fitting Front Taper Roller Bearing Using Special Tool
    G06867438Courtesy of SUZUKI OF AMERICA CORP.
  4. Install bevel pinion with new pinion shaft spacer (1) and new pump seal (2) to transfer output retainer (3).
    Fig 8: Installing Bevel Pinion With New Pinion Shaft Spacer And New Pump Seal To Transfer Output Retainer
    G06867439Courtesy of SUZUKI OF AMERICA CORP.
  5. Drive in rear taper roller bearing by using special tool and tapping lightly with plastic hammer.

    Special Tool 

    (A): 09913-84510 

    Fig 9: Driving In Rear Taper Roller Bearing By Using Special Tool
    G06867440Courtesy of SUZUKI OF AMERICA CORP.
  6. Apply grease to new oil seal lip.

    "A": Grease 99000-25011 (SUZUKI Super Grease A) 

  7. Drive in oil seal (1) by using special tools and hammer.

    Special Tool 

    1. 09940-54910 
    2. 09913-76010 

    Transfer output flange oil seal installing depth 

    "a": 21.0 - 22.0 mm (0.82 - 0.86 in.) 

    Fig 10: Checking Transfer Output Flange Oil Seal Installing Depth
    G06867441Courtesy of SUZUKI OF AMERICA CORP.
  8. Install transfer output flange (1) by tapping with plastic hammer and tighten transfer output flange nut gradually so as rotational torque of bevel pinion to be in specified value.
    NOTE:
    • If rotational torque of bevel pinion exceeds specification given in the following, replace pinion shaft spacer and tighten flange nut.
    • Before taking measurement of rotational torque, rotate pinion over ten rounds in advance.

    Bevel pinion bearing preload 

    : 0.5 - 1.3 N.m (0.05 - 0.13 kgf-m, 0.35 - 0.95 lbf-ft) 

    Special Tool 

    (A): 09930-40113 

    Fig 11: Checking Bevel Pinion Bearing Preload
    G06867442Courtesy of SUZUKI OF AMERICA CORP.