lemon-mirror:
Home >> Suzuki >> 2013 >> Kizashi Base, Standard Trans >> Repair and Diagnosis >> Engine Performance >> Engine Control Systems >> Engine Electrical Devices >> Repair Instructions >> CKP Sensor Inspection

CKP Sensor Inspection

Reference: CKP SENSOR REMOVAL AND INSTALLATION 

  1. Check the following points:
    • Check that O-ring (1) is free from damage.
    • Check that end face of sensor and signal plate tooth are free from any metal particles and damage.
      Fig 1: Identifying CKP Sensor And O-Ring
      G06528143Courtesy of SUZUKI OF AMERICA CORP.
  2. Check CKP sensor as follows.

    If faulty condition is found, replace CKP sensor, see CKP SENSOR REMOVAL AND INSTALLATION .

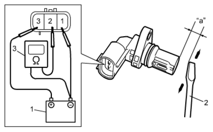
    1. Connect battery (1) and ohmmeter (3) to CKP sensor as shown in figure.
    2. Check that CKP sensor resistance varies as specified below by bringing magnetic substance (iron) to CKP sensor.
      NOTE: Be sure to keep approximately 1 mm (0.03 in) gap "a" between magnetic substance (iron) and end face of CKP sensor.

      CKP sensor resistance 

      Resistance varies between less than 220 Ω (ON) and infinity (OFF) 

      Fig 2: Connecting Battery And Ohmmeter To CKP Sensor
      G06528144Courtesy of SUZUKI OF AMERICA CORP.