lemon-mirror:
Home >> Toyota >> 1983 >> Celica Supra Base, Automatic >> Repair and Diagnosis >> Engine Performance >> System >> TCCS Engine Control System >> Testing >> Trouble Code 41 TPS Sensor & Circuit

Trouble Code 41 TPS Sensor & Circuit

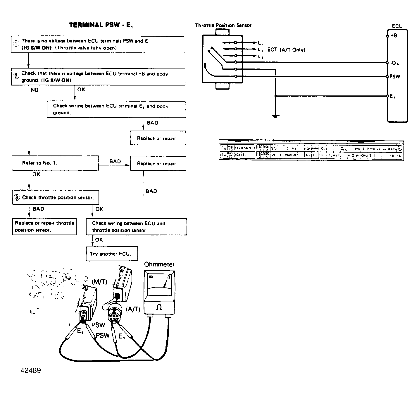
Fig 1: Trouble Code 41, Terminal IDL - E1
G42490Courtesy of © TOYOTA, LICENSE AGREEMENT TMS1002
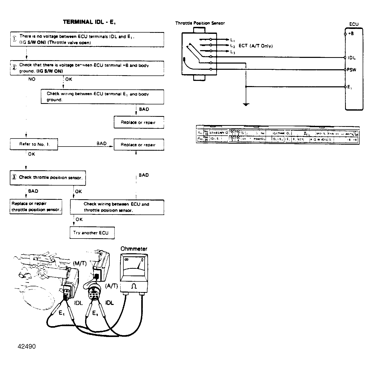
Fig 2: Trouble Code 41, Terminal PSW - E1
G42489Courtesy of © TOYOTA, LICENSE AGREEMENT TMS1002