lemon-mirror:
Home >> Toyota >> 1985 >> Celica Supra Base, Automatic >> Repair and Diagnosis >> Engine Performance >> System >> TCCS System >> System Testing >> Diagnostic Circuit Check

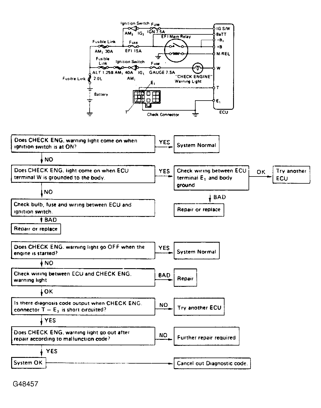
Diagnostic Circuit Check

Fig 1: Diagnostic Circuit Check
G48457Courtesy of © TOYOTA, LICENSE AGREEMENT TMS1002