lemon-mirror:
Home >> Toyota >> 1985 >> Celica Supra Base, Automatic >> Repair and Diagnosis >> Engine Performance >> System >> TCCS System >> System Testing >> Trouble Code 11 Main Relay & Circuit

Trouble Code 11 Main Relay & Circuit

Fig 1: Terminal BAT - E1
G42898Courtesy of © TOYOTA, LICENSE AGREEMENT TMS1002
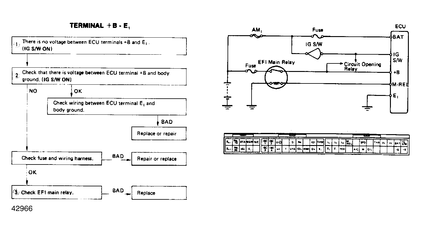
Fig 2: Terminal +B - E1
G42966Courtesy of © TOYOTA, LICENSE AGREEMENT TMS1002
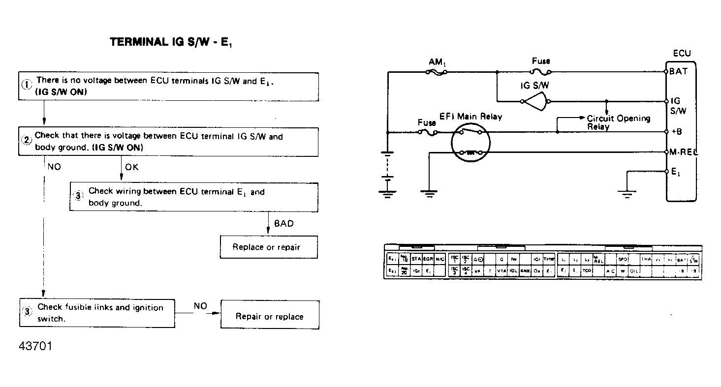
Fig 3: Terminal IG S/W - E1
G43701Courtesy of © TOYOTA, LICENSE AGREEMENT TMS1002
Fig 4: Terminal M-REL - E1
G42968Courtesy of © TOYOTA, LICENSE AGREEMENT TMS1002