lemon-mirror:
Home >> Toyota >> 1985 >> Land Cruiser >> Repair and Diagnosis >> Electrical >> Component Locations >> Electrical Component Locator >> Component Location Graphics

Component Location Graphics

NOTE: Figures may show multiple component locations. Refer to appropriate table for proper figure references.
Fig 1: Component Locations (1 Of 4)
G37736Courtesy of © TOYOTA, LICENSE AGREEMENT TMS1002
Fig 2: Component Locations (2 Of 4)
G37738Courtesy of © TOYOTA, LICENSE AGREEMENT TMS1002
Fig 3: Component Locations (3 Of 4)
G37735Courtesy of © TOYOTA, LICENSE AGREEMENT TMS1002
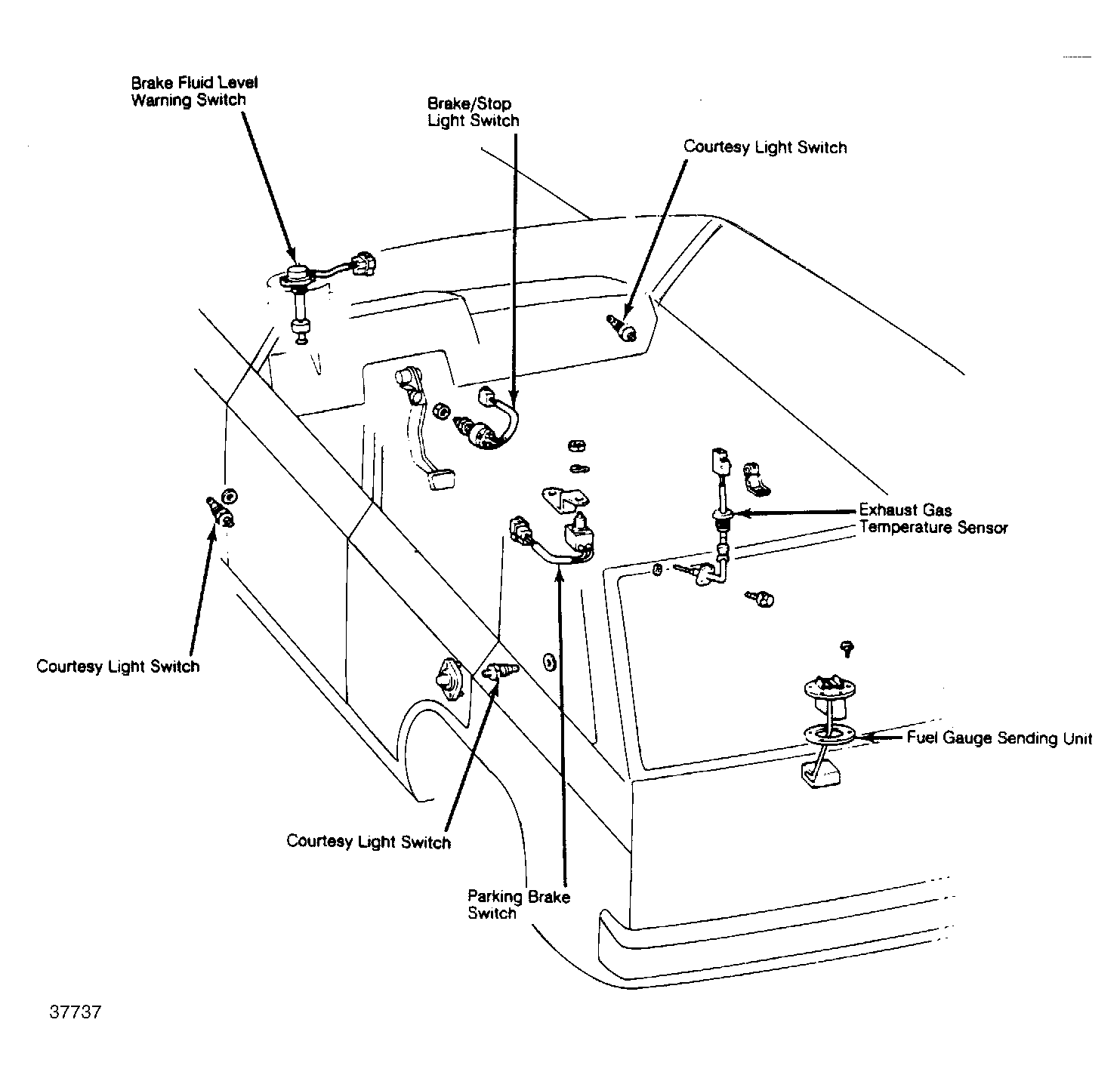
Fig 4: Component Locations (4 Of 4)
G37737Courtesy of © TOYOTA, LICENSE AGREEMENT TMS1002