lemon-mirror:
Home >> Toyota >> 1985 >> Van LE, Automatic >> Repair and Diagnosis >> Body & Frame >> Power Windows >> Component Tests >> Power Window Assistant Switch

Power Window Assistant Switch

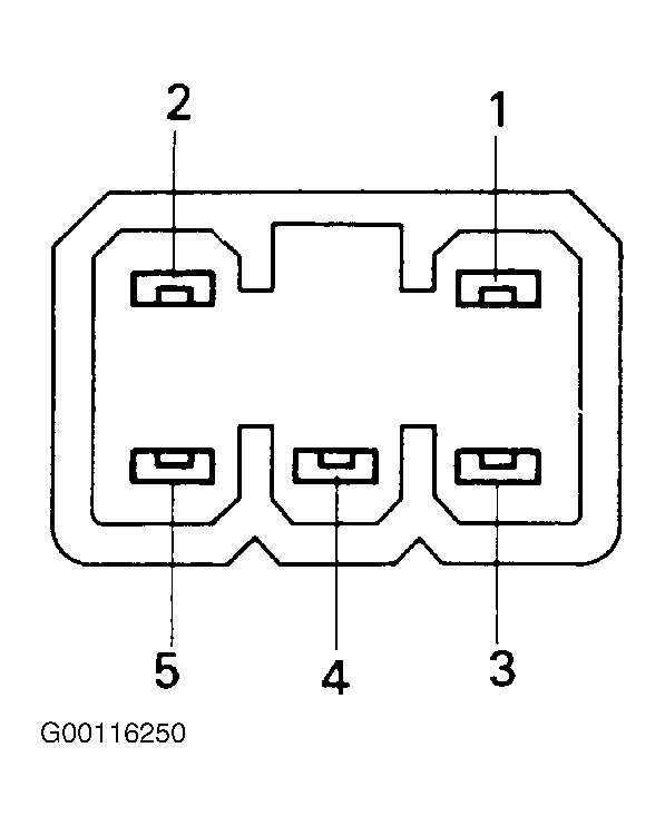
Inspect the switch continuity between terminals. See Fig 1 and Fig 2 . If continuity is not as specified, replace the switch.

Fig 1: Identifying Power Window Assistant Switch Terminals
G00116250Courtesy of © TOYOTA, LICENSE AGREEMENT TMS1002
Fig 2: Testing Power Window Assistant Switch Continuity
G00116251Courtesy of © TOYOTA, LICENSE AGREEMENT TMS1002