lemon-mirror:
Home >> Toyota >> 1985 >> Van LE, Automatic >> Repair and Diagnosis >> Body & Frame >> Power Windows >> Component Tests >> Power Window Master Switch

Power Window Master Switch

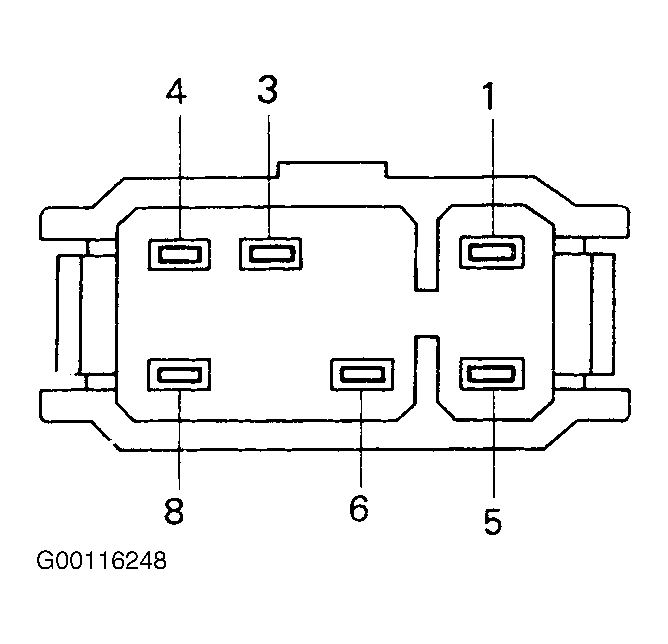
Inspect the switch continuity between terminals. See Fig 1 and Fig 2 . If continuity is not as specified, replace the switch.

Fig 1: Identifying Power Window Master Switch Terminals
G00116248Courtesy of © TOYOTA, LICENSE AGREEMENT TMS1002
Fig 2: Testing Power Window Master Switch Continuity
G00116249Courtesy of © TOYOTA, LICENSE AGREEMENT TMS1002