lemon-mirror:
Home >> Toyota >> 1987 >> Camry Base, Automatic >> Repair and Diagnosis >> Engine Performance >> System >> TCCS System >> Diagnostic Charts >> Injector Circuits Check

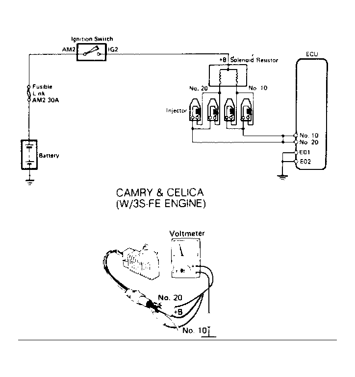
Injector Circuits Check

Fig 1: Injector Circuits Check (1 Of 3)
G61987Courtesy of © TOYOTA, LICENSE AGREEMENT TMS1002
Fig 2: Injector Circuits Check (2 Of 3)
G61986Courtesy of © TOYOTA, LICENSE AGREEMENT TMS1002
Fig 3: Injector Circuits Check (3 Of 3)
G61989Courtesy of © TOYOTA, LICENSE AGREEMENT TMS1002