lemon-mirror:
Home >> Toyota >> 1991 >> Tercel LE, Automatic >> Repair and Diagnosis >> Engine Performance >> System >> Engine Controls - System/Component Tests >> Fuel System >> Fuel Control >> Fuel Pressure-Up System

Fuel Pressure-Up System

  1. Ensure coolant temperature sensor, air temperature sensor (in airflow meter) and circuits are operating correctly. See ENGINE SENSORS & SWITCHES .
    NOTE: The ECU uses signal from coolant temperature sensor to control ground circuit for fuel pressure-up vacuum switching valve.
  2. Fuel pressure-up system is controlled by ECU through a vacuum switching valve. The vacuum switching valve is fed current through the EFI main relay when the ignition is turned on. ECU controls the ground circuit. ECU will activate vacuum switching valve for 90-180 seconds when restarting engine at normal operating temperature.
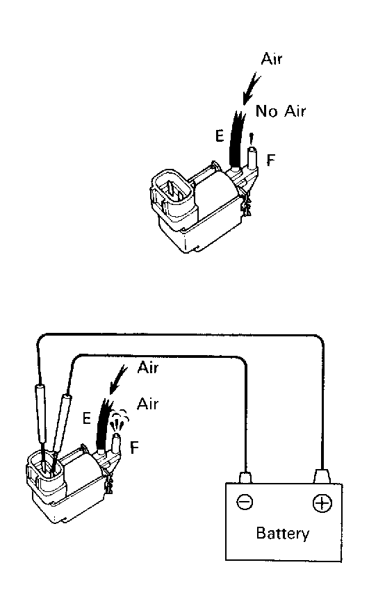
  3. Remove vacuum switching valve from valve cover. Check for continuity across valve wiring terminals. Resistance should be about 37-44 ohms at room temperature. There should be no continuity between each terminal and body of valve. To check operation, see Fig 1.
Fig 1: Fuel Pressure-Up VSV Test
G90A18069Courtesy of © TOYOTA, LICENSE AGREEMENT TMS1002