lemon-mirror:
Home >> Toyota >> 1992 >> Cressida >> Repair and Diagnosis >> Engine Performance >> System >> Engine Controls - Tests W/Codes >> Code Charts >> Code 14/Test No. 2 - Ignition Signal

Code 14/Test No. 2 - Ignition Signal

NOTE: To check ignition system components, see I - SYS/COMP TESTS article in the ENGINE PERFORMANCE Section.
CODE 14/TEST NO. 2-IGNITION SIGNAL TROUBLE

Terminals Trouble Condition STD Voltage
IGT - E1 No Voltage Idling 0.7 - 1.0V
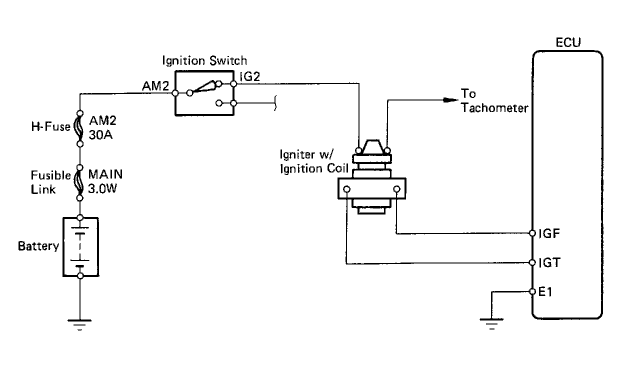
Fig 1: Code 14/Test No. 2 Schematic Ignition Signal
G91B17799Courtesy of © TOYOTA, LICENSE AGREEMENT TMS1002
Fig 2: Code 14/Test No. 2 Flow Chart Ignition Signal
G91C17543Courtesy of © TOYOTA, LICENSE AGREEMENT TMS1002