lemon-mirror:
Home >> Toyota >> 1992 >> Cressida >> Repair and Diagnosis >> Engine Performance >> System >> Engine Controls - Tests W/Codes >> Code Charts >> Diagnostic Circuit Check

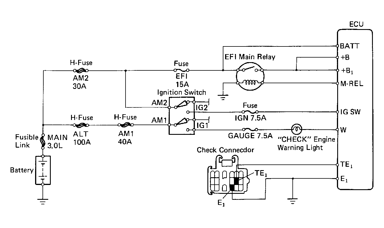
Diagnostic Circuit Check

Fig 1: Diagnostic Circuit Check Schematic
G91E17792Courtesy of © TOYOTA, LICENSE AGREEMENT TMS1002
Fig 2: Diagnostic Circuit Check Flow Chart
G91C17709Courtesy of © TOYOTA, LICENSE AGREEMENT TMS1002