| ABS Speed Sensor Wire Harness Clamp Bolt |
| Avalon, Camry, Camry Solara, Echo & Sienna |
22 (30) |
| Brace Mounting Nuts |
| Corolla |
51 (69) |
| Brake Caliper Mounting Bolts-To-Steering Knuckle |
| Avalon, Camry, Camry Solara, RAV4 & Sienna |
79 (107) |
| Celica |
| 1999 |
76 (103) |
| 2000 |
79 (107) |
| Corolla & Echo |
65 (88) |
| Brake Hose Clamp Bolt |
| Avalon, Camry, Camry Solara, Corolla & Sienna |
22 (30) |
| Celica & RAV4 |
14 (19) |
| Drive Axle Nut |
| Avalon, Camry, Camry Solara & Sienna |
217 (294) |
| Celica, Echo & RAV4 |
159 (216) |
| Corolla |
166 (225) |
| Exhaust Pipe Bracket Bolts |
| Celica |
14 (19) |
| Lower Ball Joint-To-Axle Hub Nut |
| Avalon, Camry, Camry Solara & Sienna |
90 (122) |
| Celica |
76 (103) |
| Corolla |
91 (123) |
| Echo |
72 (98) |
| RAV4 |
94 (127) |
| Lower Control Arm-To-Ball Joint Nuts & Bolt |
| Avalon, Camry, Echo & RAV4 |
94 (127) |
| Camry Solara & Sienna |
90 (122) |
| Celica |
| 1999 |
94 (127) |
| 2000 |
105 (142) |
| Corolla |
105 (142) |
| Lower Control Arm Bracket Bolts & Nuts |
| Corolla |
| Front Bracket-To-Bracket Bolt |
167 (226) |
| Lower Bracket (Rear)-To-Upper Bracket (Center) Bolt |
109 (148) |
| Lower Bracket-To-Upper Bracket Nut |
14 (19) |
| Upper Bracket Center Bolt |
129 (175) |
| Upper Bracket Outer (Short) Bolt |
109 (147) |
| RAV4 |
| Inner Nut |
21 (28) |
| Mounting Bolts |
101 (137) |
| Rear Nut (To Lower Control Arm) |
101 (137) |
| Lower Control Arm Bushing-To-Body Bolts |
| Avalon, Camry, Camry Solara & Sienna |
152 (206) |
| Echo |
65 (88) |
| Lower Control Arm Bushing-To-Suspension Crossmember Bolts |
| Celica |
| 1999 |
116 (157) |
| 2000 |
101 (137) |
| Corolla |
158 (214) |
| Echo |
97 (132) |
| RAV4 |
126 (171) |
| Power Steering Gear Mounting Bolts |
| Celica |
| 1999 |
94 (127) |
| 2000 |
33 (45) |
| RAV4 |
83 (113) |
| Sienna |
134 (182) |
| Shock Absorber Center Nut |
| Avalon, Camry, Camry Solara & Sienna |
36 (49) |
| Celica, Corolla, RAV4 |
35 (47) |
| Echo |
24 (33) |
| Shock Absorber Lower Nuts |
| Avalon & Camry |
156 (212) |
| Camry Solara |
162 (220) |
| Celica |
113 (153) |
| Corolla |
203 (274) |
| Echo |
97 (132) |
| RAV4 |
117 (159) |
| Sienna |
155 (210) |
| Shock Absorber Upper Nuts |
| Avalon, Camry, Camry Solara, RAV4 & Sienna |
59 (80) |
| Celica |
| 1999 |
59 (80) |
| 2000 |
29 (39) |
| Corolla & Echo |
29 (39) |
| Stabilizer Bar Bracket Bolts |
| Avalon, Camry, Camry Solara, Celica & Sienna |
14 (19) |
| RAV4 |
22 (29) |
| Stabilizer Bar Link Nuts |
| Avalon, Camry, Camry Solara & Sienna |
29 (39) |
| Celica & Corolla |
33 (45) |
| Echo |
13 (18) |
| RAV4 |
| 2-Door Model |
33 (45) |
| All Other Models |
54 (73) |
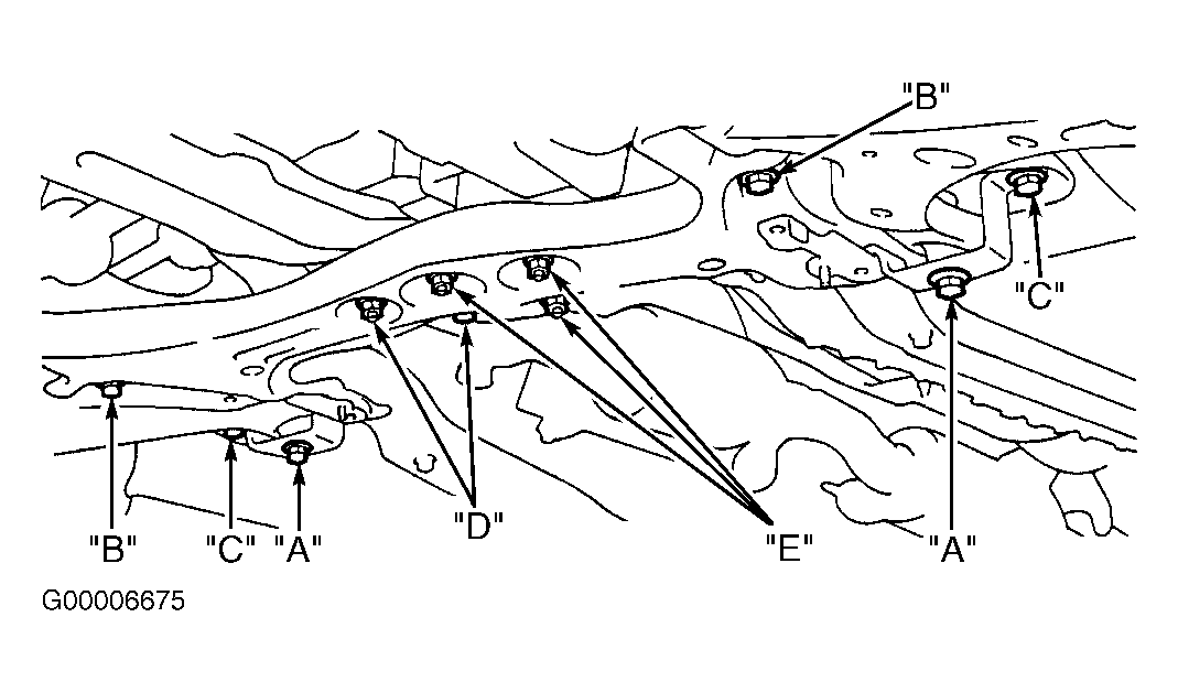
| Suspension Crossmember Mounting Bolts |
| Celica |
| 1999 |
| Outer Center |
94 (127) |
| Outer Rear (Long) |
123 (167) |
| Outer Rear (Short) |
130 (176) |
| 2000 |
| "A" |
33 (45) |
| "B" |
38 (52) |
| "C" |
83 (113) |
| "D" |
116 (157) |
| "E" |
29 (39) |
| Corolla |
| Front Bolts ("B") |
167 (226) |
| Rear Bolts ("D") |
45 (61) |
| Center Nuts ("E") |
42 (57) |
| Outer End Bolts ("C") |
109 (148) |
| Outer Rear Bolts ("A") |
129 (175) |
| RAV4 |
| Outer |
152 (206) |
| Suspension Crossmember-To-Center Member Bolt & Nuts |
| Celica |
59 (80) |
| RAV4 (Nuts) |
85 (115) |
| Tie Rod End Nut |
36 (49) |
| INCH Lbs. (N.m) |
| ABS Speed Sensor Bolt |
| Avalon, Camry, Camry Solara, & Corolla |
71 (8.0) |
| Celica |
| 1999 |
44 (5.0) |
| 2000 |
71 (8.0) |
| Sienna |
69 (7.8) |
| ABS Speed Sensor Wire Harness Clamp Bolt |
| Celica |
| 1999 |
44 (5.0) |
| 2000 |
71 (8.0) |
| RAV4 |
48 (5.4) |
| Axle Hub Dust Cover Bolts |
74 (8.3) |
| Front Suspension Clamp (A/T Only) |
| RAV4 |
74 (8.3) |