lemon-mirror:
Home >> Toyota >> 2001 >> MR2 C56 >> Repair and Diagnosis >> Body & Frame >> Body, Cab Control Systems >> Body Control Systems >> Component Tests >> Ignition Relay

Ignition Relay

NOTE: Ignition relay may also be referred to as IG1 relay.
  1. Ensure ignition is off. Remove ignition relay. Ignition relay is located in fuse/relay box at driver's side of instrument panel and is marked as IG1 relay. See Figure.
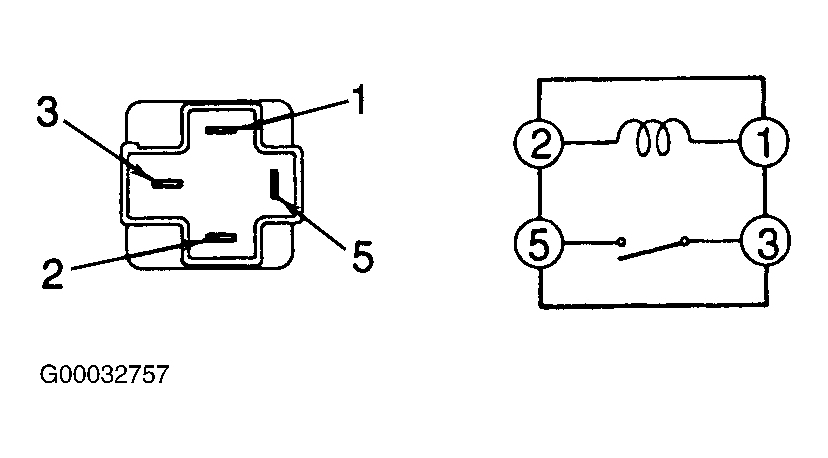
  2. Note identification of electrical terminals on ignition relay. See Fig 1. Using ohmmeter, check that no continuity exists between terminals No. 3 and 5 on ignition relay. Check that continuity exists between terminals No. 1 and 2 on ignition relay.
  3. Using jumper wires, apply battery voltage and ground to terminals No. 1 and 2 on ignition relay. Check that continuity now exists between terminals No. 3 and 5 on ignition relay. See Fig 1. Replace ignition relay if defective.
    Fig 1: Identifying Electrical Terminals On Ignition Relay
    G00032757Courtesy of © TOYOTA, LICENSE AGREEMENT TMS1002