lemon-mirror:
Home >> Toyota >> 2001 >> Sienna LE >> Repair and Diagnosis >> Body & Frame >> Body, Cab Control Systems >> Body Control Systems >> Component Tests >> Headlight Relay

Headlight Relay

NOTE: Headlight relay may also be referred to as head relay or headlight control relay.
  1. Ensure ignition is off. Remove headlight relay. Headlight relay is located in fuse/relay box at driver's side front corner of engine compartment. See Figure.
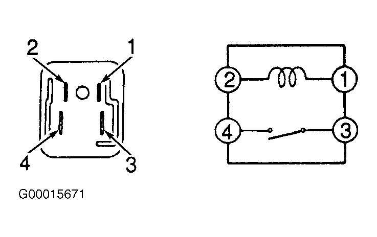
  2. Note identification of electrical terminals on headlight relay. See Fig 1. Using ohmmeter, check that no continuity exists between terminals No. 3 and 4 on headlight relay. Check that continuity exists between terminals No. 1 and 2 on headlight relay.
  3. Using jumper wires, apply battery voltage and ground to terminals No. 1 and 2 on headlight relay. Check that continuity now exists between terminals No. 3 and 4 on headlight relay. See Fig 1. Replace headlight relay if defective.
    Fig 1: Identifying Electrical Terminals On Headlight Relay
    G00015671Courtesy of © TOYOTA, LICENSE AGREEMENT TMS1002