lemon-mirror:
Home >> Toyota >> 2002 >> Corolla CE, Standard >> Repair and Diagnosis >> Body & Frame >> Windows >> Power Window Control System >> Power Window Control System >> Inspection

Power Window Control System: Inspection

  1. Inspect power window master switch continuity  :

    Front driver's switch (Window unlock and lock): 

    Fig 1: Identifying Power Window Master Switch Terminals
    G01908643Courtesy of © TOYOTA, LICENSE AGREEMENT TMS1002
    Fig 2: Master Switch Specifications For Front Driver's Switch (Window Lock & Unlock)
    G01908637Courtesy of © TOYOTA, LICENSE AGREEMENT TMS1002
    Fig 3: Master Switch Specifications For Front Passenger's Switch (Window Unlock)
    G01908638Courtesy of © TOYOTA, LICENSE AGREEMENT TMS1002
    Fig 4: Master Switch Specifications For Front Passenger's Switch (Window Lock)
    G01908639Courtesy of © TOYOTA, LICENSE AGREEMENT TMS1002
    Fig 5: Master Switch Specifications For Rear Left Switch (Window Unlock)
    G01908640Courtesy of © TOYOTA, LICENSE AGREEMENT TMS1002
    Fig 6: Master Switch Specifications For Rear Left Switch (Window Lock)
    G01908641Courtesy of © TOYOTA, LICENSE AGREEMENT TMS1002
    Fig 7: Master Switch Specifications For Rear Right Switch (Window Unlock)
    G01908642Courtesy of © TOYOTA, LICENSE AGREEMENT TMS1002
    Fig 8: Master Switch Specifications For Rear Right Switch (Window Lock)
    G01908644Courtesy of © TOYOTA, LICENSE AGREEMENT TMS1002

    If continuity is not as specified, replace the master switch.

  2. Inspect power window master switch illumination  :

    Connect the positive (+) lead from the battery to terminal 11 and the negative (-) lead to terminal 4, and check that all the illuminations light up.

    Fig 9: Testing Power Window Master Switch Illumination
    G01908645Courtesy of © TOYOTA, LICENSE AGREEMENT TMS1002

    If operation is not as specified, replace the master switch.

  3. Using an ammeter, inspect one touch power window system current of circuit  :
    1. Disconnect the connector from the master switch.
    2. Connect the positive (+) lead from the ammeter to terminal 5 on the wire harness side connector and the negative (-) lead to negative (-) terminal of the battery.
      Fig 10: Testing One Touch Power Window Circuit Using An Ammeter (1 Of 2)
      G01908646Courtesy of © TOYOTA, LICENSE AGREEMENT TMS1002
    3. Connect the positive (+) lead from the battery to terminal 1 on the wire harness side connector.
      Fig 11: Testing One Touch Power Window Circuit Using An Ammeter (2 Of 2)
      G01908647Courtesy of © TOYOTA, LICENSE AGREEMENT TMS1002
    4. NOTE: The circuit breaker opens some 4-40 seconds after the window stops going down, so that check must be made before the circuit breaker operates.
    5. As the window goes down, check that the current flow is approximately 7 A.

    Check that the current increases up to approximately 14.5 A or more when the window stops going down.

    If the operation is as specified, replace the master switch.

  4. Using an ammeter with a current-measuring probe, inspect one touch power window system current of circuit  :
    1. Remove the master switch with connector connected.
    2. Attach a current-measuring probe to terminal 5 of the wire harness.
      Fig 12: Testing One Touch Power Window Circuit Using An Ammeter With Current Probe (1 Of 2)
      G01908648Courtesy of © TOYOTA, LICENSE AGREEMENT TMS1002
    3. Turn the ignition switch ON and set the power window switch in the down position.
    4. As the window goes down, check that the current flow is approximately 7 A.
    5. NOTE: The circuit breaker opens some 4 - 40 seconds after the window stops going down, so that check must be made before the circuit breaker operates.
      Fig 13: Testing One Touch Power Window Circuit Using An Ammeter With Current Probe (2 Of 2)
      G01908649Courtesy of © TOYOTA, LICENSE AGREEMENT TMS1002
    6. Check that the current increases up to approximately 14.5 A or more when the window stops going down.

      If operation is as specified, replace the master switch.

  5. Inspect passenger's power window switch continuity  :
    Fig 14: Identifying Passenger's Power Window Switch Terminals
    G01908651Courtesy of © TOYOTA, LICENSE AGREEMENT TMS1002
    Fig 15: Passenger's Power Window Switch Specifications
    G01908650Courtesy of © TOYOTA, LICENSE AGREEMENT TMS1002

    If continuity is not as specified, replace the switch.

  6. Inspect rear door power window switch continuity  :
    Fig 16: Identifying Rear Door Power Window Switch Terminals
    G01908653Courtesy of © TOYOTA, LICENSE AGREEMENT TMS1002
    Fig 17: Rear Door Power Window Switch Specifications
    G01908652Courtesy of © TOYOTA, LICENSE AGREEMENT TMS1002

    If continuity is not as specified, replace the switch.

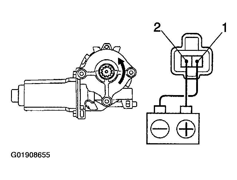
  7. Left side door, inspect power window motor operation  :
    1. Connect the positive (+) lead from the battery to terminal 1 and the negative (-) lead to terminal 2, and check that the motor turns clockwise.
      Fig 18: Testing Left Side Door Power Window Motor (1 Of 2)
      G01908654Courtesy of © TOYOTA, LICENSE AGREEMENT TMS1002
    2. Reverse the polarity, check that the motor turns counterclockwise.
      Fig 19: Testing Left Side Door Power Window Motor (2 Of 2)
      G01908655Courtesy of © TOYOTA, LICENSE AGREEMENT TMS1002

      If operation is not as specified, replace the motor.

  8. Right side door, inspect power window motor operation  :
    1. Connect the positive (+) lead from the battery to terminal 1 and the negative (-) lead to terminal 2, and check that the motor turns clockwise.
      Fig 20: Testing Right Side Door Power Window Motor (1 Of 2)
      G01908656Courtesy of © TOYOTA, LICENSE AGREEMENT TMS1002
    2. Reverse the polarity, check that the motor turns counterclockwise.
      Fig 21: Testing Right Side Door Power Window Motor (2 Of 2)
      G01908657Courtesy of © TOYOTA, LICENSE AGREEMENT TMS1002

    If operation is not as specified, replace the motor.

  9. Driver's door, inspect power window motor circuit breaker operation  :
    1. Disconnect the connector from the master switch.
    2. Connect the positive (+) lead from the battery to terminal 5 and the negative (-) lead to terminal 1 on the wire harness side connector and raise the window to full closed position.
      Fig 22: Testing Driver's Door Power Window Motor Circuit Breaker (1 Of 2)
      G01908658Courtesy of © TOYOTA, LICENSE AGREEMENT TMS1002
    3. Continue to apply voltage, check that there is a circuit breaker operation noise within approximately 4 to 40 seconds.
    4. Reverse the polarity, check that the window begins to descend within approximately 60 seconds.
      Fig 23: Testing Driver's Door Power Window Motor Circuit Breaker (2 Of 2)
      G01908659Courtesy of © TOYOTA, LICENSE AGREEMENT TMS1002

      If operation is not as specified, replace the motor.

  10. Front passenger's door, inspect power window motor circuit breaker operation  :
    1. Disconnect the connector from the power window switch.
    2. Connect the positive (+) lead from the battery to terminal 3 and the negative (-) lead to terminal 1 on the wire harness side connector, and raise the window to full closed position.
      Fig 24: Testing Driver's Door Power Window Motor Circuit Breaker (1 Of 2)
      G01908660Courtesy of © TOYOTA, LICENSE AGREEMENT TMS1002
    3. Continue to apply voltage, check that there is a circuit breaker operation noise within approximately 4 to 40 seconds.
    4. Reverse the polarity, check that the window begins to descend within approximately 60 seconds.
      Fig 25: Testing Driver's Door Power Window Motor Circuit Breaker (2 Of 2)
      G01908661Courtesy of © TOYOTA, LICENSE AGREEMENT TMS1002

      If operation is not as specified, replace the motor.

  11. Rear left side door, inspect power window motor circuit breaker operation  :

    Repeat steps  ad for rear door.

  12. Rear right side door, inspect power window motor circuit breaker operation  :

    Repeat steps  ad for rear door.

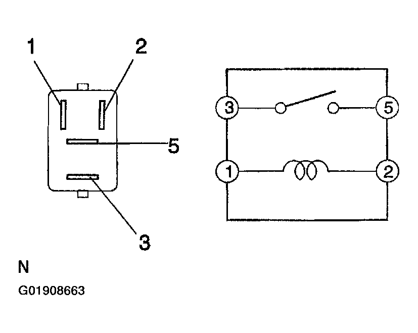
  13. Inspect power main relay continuity  :
    Fig 26: Identifying Power Main Relay Terminals & Wiring Diagram
    G01908663Courtesy of © TOYOTA, LICENSE AGREEMENT TMS1002
    Fig 27: Identifying Power Main Relay Specifications
    G01908662Courtesy of © TOYOTA, LICENSE AGREEMENT TMS1002

    If continuity is not as specified, replace the relay.

  14. NOTE: When the relay circuit is as specified, inspect the key-off power window signal.
  15. Key-Off power window signal, inspect integration relay operation  :
    1. Connect the positive (+) lead from the voltmeter to terminal 14 and the negative (-) lead to body ground.
      Fig 28: Testing Integration Relay Operation (1 Of 2)
      G01908664Courtesy of © TOYOTA, LICENSE AGREEMENT TMS1002
    2. Close the door with ignition switch turned to LOCK or ACC, and check that the meter needle indicates battery positive voltage.
    3. Open the door and check that the meter needle indicates 0 V.
    4. Turn the ignition switch ON and check that the meter needle indicates battery positive voltage again.
      Fig 29: Testing Integration Relay Operation (2 Of 2)
      G01908665Courtesy of © TOYOTA, LICENSE AGREEMENT TMS1002

      If operation is not as specified, replace the relay.

  16. Inspect integration relay circuit  . See INSPECTION .