lemon-mirror:
Home >> Toyota >> 2002 >> Prius >> Repair and Diagnosis >> External Pages >> Different car >> Section 249 (Power Seat Control System) >> Power Seat Control System >> Inspection

Power Seat Control System: Inspection

WARNING: This page is about a different car, the 2002 Toyota Sequoia. However, it is still accessible from the selected car via links, so may be relevant.
  1. Inspect continuity of driver's power seat switches  :
    Fig 1: Identifying Driver's Power Seat Switch Positions & Terminals
    G01896174Courtesy of © TOYOTA, LICENSE AGREEMENT TMS1002
    Fig 2: Driver's Power Seat Slide Switch Terminal Specifications
    G01896170Courtesy of © TOYOTA, LICENSE AGREEMENT TMS1002
    Fig 3: Driver's Power Seat Tilt Switch Terminal Specifications
    G01896171Courtesy of © TOYOTA, LICENSE AGREEMENT TMS1002
    Fig 4: Driver's Power Seat Rear Lifter Switch Terminal Specifications
    G01896172Courtesy of © TOYOTA, LICENSE AGREEMENT TMS1002
    Fig 5: Driver's Power Seat Reclining Switch Terminal Specifications
    G01896173Courtesy of © TOYOTA, LICENSE AGREEMENT TMS1002

    If continuity is not as specified, replace the switch.

  2. Inspect continuity for passenger's power seat switches  :
    Fig 6: Identifying Passenger's Power Seat Switch Positions & Terminals
    G01896177Courtesy of © TOYOTA, LICENSE AGREEMENT TMS1002
    Fig 7: Passenger's Power Seat Slide Switch Terminal Specifications
    G01896175Courtesy of © TOYOTA, LICENSE AGREEMENT TMS1002
    Fig 8: Passenger's Power Seat Reclining Switch Terminal Specifications
    G01896176Courtesy of © TOYOTA, LICENSE AGREEMENT TMS1002

    If continuity is not as specified, replace the switch.

  3. Inspect driver's lumbar support switch continuity  :
    Fig 9: Identifying Driver's Lumbar Support Switch Positions & Terminals
    G01896179Courtesy of © TOYOTA, LICENSE AGREEMENT TMS1002
    Fig 10: Driver's Lumbar Support Switch Terminal Specifications
    G01896178Courtesy of © TOYOTA, LICENSE AGREEMENT TMS1002

    If continuity is not as specified, replace the switch.

  4. NOTE: Step  a &  b testing conditions are called out in figure. See Fig 11.
  5. Inspect slide motor operation  :
    1. Connect the positive (+) lead from the battery to terminal 1 and the negative (-) lead to terminal 2, check that the motor turns clockwise.
      Fig 11: Testing Slide Motor
      G01896180Courtesy of © TOYOTA, LICENSE AGREEMENT TMS1002
    2. Reverse the polarity, check that the motor turns counter-clockwise.

      If operation is not as specified, replace the seat adjuster.

  6. Inspect passenger's side slide motor PTC thermistor operation  :
    1. Connect the positive (+) lead from the battery to terminal 2 (1), the positive (+) lead from the ammeter to terminal 1 (2) and the negative (-) lead to the battery negative (-) terminal, then move the seat cushion to the rear position.
    2. Continue to apply voltage, check that current changes to less than 1 ampere within 4 to 90 seconds.
      Fig 12: Testing Passenger's Side Slide Motor PTC Thermistor (1 Of 2)
      G01896181Courtesy of © TOYOTA, LICENSE AGREEMENT TMS1002
    3. Disconnect the leads from terminals.
      Fig 13: Testing Passenger's Side Slide Motor PTC Thermistor (2 Of 2)
      G01896182Courtesy of © TOYOTA, LICENSE AGREEMENT TMS1002
    4. Approximately 60 seconds later, connect the positive (+) lead from the battery to terminal 1 (2) and the negative (-) lead to terminal 2 (1), check that the seat cushion begins to move forwards.

      If operation is not as specified, replace the seat adjuster.

  7. NOTE: Step  a &  b testing conditions are called out in figure. See Fig 14.
  8. Inspect front tilt motor operation  :
    1. Connect the positive (+) lead from the battery to terminal 1 and the negative (-) lead to terminal 2 Check that the motor turns clockwise.
      Fig 14: Testing Front Tilt Motor
      G01896183Courtesy of © TOYOTA, LICENSE AGREEMENT TMS1002
    2. Reversing the polarity, check that the motor turns counter-clockwise.

      If operation is not as specified, replace the seat adjuster.

  9. Inspect front tilt motor PTC thermistor operation  :
    1. Connect the positive (+) lead from the battery to terminal 1, the positive (+) lead from the ammeter to terminal 2 and the negative (-) lead to the battery negative (-) terminal, then move the seat cushion to the highest position.
      Fig 15: Testing Front Tilt Motor PTC Thermistor (1 Of 2)
      G01896184Courtesy of © TOYOTA, LICENSE AGREEMENT TMS1002
    2. Continuing to apply voltage, check that the current changes to less than 1 ampere within 4 to 90 seconds.
    3. Disconnect the leads from the terminals.
    4. Approximately 60 seconds later, connect the positive (+) lead from the battery to terminal 2 and the negative (-) lead to terminal 1. Check that the seat cushion begins to descend.
      Fig 16: Testing Front Tilt Motor PTC Thermistor (2 Of 2)
      G01896185Courtesy of © TOYOTA, LICENSE AGREEMENT TMS1002

      If operation is not as specified, replace the seat adjuster.

  10. NOTE: Steps  a &  b testing conditions are called out in figure. See Fig 17.
  11. Inspect lifter motor operation  :
    1. Connect the positive (+) lead from the battery to terminal 1 and the negative (-) lead to terminal 2, check that the motor turns clockwise.
      Fig 17: Testing Lifter Motor
      G01896186Courtesy of © TOYOTA, LICENSE AGREEMENT TMS1002
    2. Reverse the polarity, check that the motor turns counter-clockwise.

      If operation is not as specified, replace the seat adjuster.

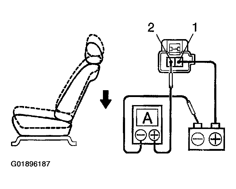
  12. Inspect lifter motor PTC thermistor operation  :
    1. Connect the positive (+) lead from the battery to terminal 1, the positive (+) lead from the ammeter to terminal 2 and the negative (-) lead to the battery negative (-) terminal, then move the seat cushion to the lowest position.
      Fig 18: Testing Lifter Motor PTC Thermistor (1 Of 2)
      G01896187Courtesy of © TOYOTA, LICENSE AGREEMENT TMS1002
    2. Continue to apply voltage, check that the current changes to less than 1 ampere within 4 to 90 seconds.
    3. Disconnect the leads from the terminals.
    4. Approximately 60 seconds later, connect the positive (+) lead from the battery to terminal 2 and the negative (-) lead to terminal 1. Check that the seat cushion begins to ascend.
      Fig 19: Testing Lifter Motor PTC Thermistor (2 Of 2)
      G01896188Courtesy of © TOYOTA, LICENSE AGREEMENT TMS1002

      If operation is not as specified, replace the seat adjuster.

  13. NOTE: Steps  a &  b testing conditions are called out in figure. See Fig 20.
  14. Inspect reclining motor operation  :
    1. Connect the positive (+) lead from the battery to terminal 1 and the negative (-) lead to terminal 2, check that the motor turns clockwise.
      Fig 20: Testing Reclining Motor
      G01896189Courtesy of © TOYOTA, LICENSE AGREEMENT TMS1002
    2. Reverse the polarity, check that the motor turns counter-clockwise.

      If operation is not as specified, replace the seat adjuster.

  15. Inspect reclining motor PTC thermistor operation  :
    1. Connect the positive (+) lead from the battery to terminal 2, the positive (+) lead from the ammeter to terminal 1 and the negative (-) lead to the battery negative (-) terminal, then recline the seat back to the most forward position.
      Fig 21: Testing Reclining Motor PTC Thermistor (1 Of 2)
      G01896190Courtesy of © TOYOTA, LICENSE AGREEMENT TMS1002
    2. Continue to apply voltage, check that the current changes to less than 1 ampere within 4 to 90 seconds.
    3. Disconnect the leads from the terminals.
    4. Approximately 60 seconds later, connect the positive (+) lead from the battery to terminal 1 and the negative (-) lead to terminal 2, check that the seat back begins to fall backward.
      Fig 22: Testing Reclining Motor PTC Thermistor (1 Of 2)
      G01896191Courtesy of © TOYOTA, LICENSE AGREEMENT TMS1002

      If operation is not as specified, replace the seat adjuster.

  16. Inspect lumbar support motor operation  :
    1. Connecting the positive (+) lead from the battery to terminal 1 and the negative (-) lead to terminal 2, check that the lumbar support moves to release side.
      Fig 23: Testing Lumbar Support Motor (1 Of 2)
      G01896192Courtesy of © TOYOTA, LICENSE AGREEMENT TMS1002
    2. Reversing the polarity, check that the lumbar support moves forward.
      Fig 24: Testing Lumbar Support Motor (2 Of 2)
      G01896193Courtesy of © TOYOTA, LICENSE AGREEMENT TMS1002

      If operation is not as specified, replace the seat adjuster.

  17. Inspect lumbar support motor PTC thermistor operation  :
    1. Connect the positive (+) lead from the battery to terminal 2 and the negative (-) lead to terminal 21 on the lumbar support motor connector and move the lumbar support to front end position.
      Fig 25: Testing Lumbar Support Motor PTC Thermistor (1 Of 2)
      G01896194Courtesy of © TOYOTA, LICENSE AGREEMENT TMS1002
    2. Continue to apply voltage, check that a circuit breaker operation noise can be heard within 4 to 60 seconds.
    3. Reverse the polarity, check that the lumbar support begins to move to release side within approximately 60 seconds.
      Fig 26: Testing Lumbar Support Motor PTC Thermistor (2 Of 2)
      G01896195Courtesy of © TOYOTA, LICENSE AGREEMENT TMS1002

      If operation is not as specified, replace the motor.