lemon-mirror:
Home >> Toyota >> 2002 >> Sequoia Limited, RWD >> Repair and Diagnosis >> Body & Frame >> Windows >> Power Window Control System >> Back Door Power Window Control System >> Inspection

Back Door Power Window Control System: Inspection

  1. Inspect back door power window switch continuity  :
    Fig 1: Testing Back Door Power Window Switch
    G01896110Courtesy of © TOYOTA, LICENSE AGREEMENT TMS1002
    Fig 2: Back Door Power Window Switch Specifications
    G01896109Courtesy of © TOYOTA, LICENSE AGREEMENT TMS1002

    If continuity is not as specified, replace the switch.

  2. Inspect back door control switch continuity  :
    Fig 3: Testing Back Door Control Switch
    G01896112Courtesy of © TOYOTA, LICENSE AGREEMENT TMS1002
    Fig 4: Back Door Control Switch Specifications
    G01896111Courtesy of © TOYOTA, LICENSE AGREEMENT TMS1002

    If continuity is not as specified, replace the switch.

  3. Inspect window limit switch continuity  :
    Fig 5: Testing Window Limit Switch
    G01896114Courtesy of © TOYOTA, LICENSE AGREEMENT TMS1002
    Fig 6: Window Limit Switch Specifications
    G01896113Courtesy of © TOYOTA, LICENSE AGREEMENT TMS1002

    If continuity is not as specified, replace the back door power window regulator assembly.

  4. Inspect back door power window motor operation  :
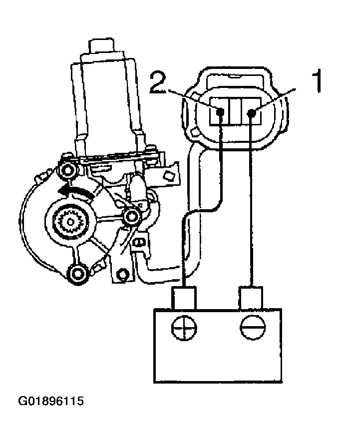
    1. Connect the positive (+) lead from the battery to terminal 2 and the negative (-) lead to terminal 1 and check that the motor turns counter clockwise.
      Fig 7: Testing Back Door Power Window Motor (1 Of 2)
      G01896115Courtesy of © TOYOTA, LICENSE AGREEMENT TMS1002
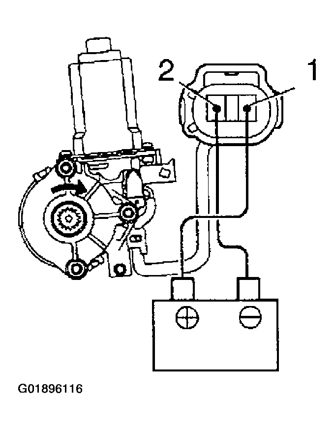
    2. Connect the positive (+) lead from the battery to terminal 1 and the negative (-) lead to terminal 2 and check that the motor turns clockwise.
      Fig 8: Testing Back Door Power Window Motor (2 Of 2)
      G01896116Courtesy of © TOYOTA, LICENSE AGREEMENT TMS1002

      If operation is not as specified, replace the back door power window motor.