lemon-mirror:
Home >> Toyota >> 2002 >> Tundra Base, Automatic >> Repair and Diagnosis >> Body & Frame >> Windows >> Power Window Control System >> Power Window Control System >> Inspection >> Step 5 - Inspect Power Main Relay Continuity

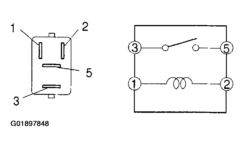
Step 5 - Inspect Power Main Relay Continuity

Fig 1: Identifying Power Main Relay Terminals
G01897848Courtesy of © TOYOTA, LICENSE AGREEMENT TMS1002
Fig 2: Power Main Relay Terminal Specifications
G01897847Courtesy of © TOYOTA, LICENSE AGREEMENT TMS1002

If continuity is not as specified, replace the switch.