lemon-mirror:
Home >> Toyota >> 2003 >> Avalon XLS >> Repair and Diagnosis >> Body & Frame >> Windows >> Back Window Glass >> Installation

Back Window Glass: Installation

  1. CLEAN AND SHAPE CONTACT SURFACE OF BODY 
    1. Using a knife, cut away any rough areas on the body.
      NOTE: Leave of the adhesive on the body as much as possible.
    2. Clean the cut surface of the adhesive with a shop rag saturated in cleaner.
    3. Fig 1: Cleaning & Shape Contact Surface Of Body
      G02818839Courtesy of © TOYOTA, LICENSE AGREEMENT TMS1002
    NOTE: Even if all the adhesive has been removed, clean the body.
  2. CLEAN REMOVED GLASS 
    1. Remove the damaged No. 2 stoppers.
    2. Using a scraper, remove the adhesive sticking to the glass.
    3. Clean the glass with cleaner.
    4. Fig 2: Cleaning Removed Glass
      G02818840Courtesy of © TOYOTA, LICENSE AGREEMENT TMS1002
    NOTE:
    • Be careful not to damage the glass.
    • Do not touch the glass face after cleaning it.
  3. REPLACE NO. 1 STOPPERS 
    1. Remove the damaged stoppers.
    2. Fig 3: Removing Damaged Stoppers
      G02818841Courtesy of © TOYOTA, LICENSE AGREEMENT TMS1002
    3. Cut off the old adhesive around the stopper installation area.
      NOTE: Be careful not to damage the body.
    4. Clean the installation area.
    5. Attach new stoppers to the body so that the notches on the body will align with the stoppers as shown in the illustration.
    NOTE: Make sure that the stoppers are installed facing the correct direction.
  4. INSTALL NEW NO. 2 STOPPERS 

    Attach new stoppers to the glass so that the ceramic notches on the glass will align with the stoppers as shown in the illustration.

    Fig 4: Installing Stoppers
    G02818842Courtesy of © TOYOTA, LICENSE AGREEMENT TMS1002

    A: 12 mm (0.47 in.) 

  5. INSTALL NEW BACK WINDOW OUTSIDE MOULDING 

    Install new back window outside moulding to the back window glass as shown in the illustration.

    NOTE:
    • Install the back window outside moulding from the center of the glass at the lower side of the vehicle.
    • Fig 5: Installing Back Window Outside Moulding
      G02818843Courtesy of © TOYOTA, LICENSE AGREEMENT TMS1002
    • When installing the back window outside moulding, do not stretch it.
  6. POSITION GLASS 
    1. Place the glass in the correct position.
    2. Fig 6: Placing Glass In Correct Position
      G02818844Courtesy of © TOYOTA, LICENSE AGREEMENT TMS1002
    3. Check that all contacting parts of the glass rim are set perfectly even.
    4. Place reference marks on the glass and body.
    5. Remove the glass.
  7. CLEAN CONTACT SURFACE OF GLASS 

    Using a cleaner, clean the contact surface which is black-colored area around the entire glass rim.

    Fig 7: Cleaning Contact Surface Of Glass Using A Cleaner
    G02818845Courtesy of © TOYOTA, LICENSE AGREEMENT TMS1002
    NOTE: Do not touch the glass face after cleaning it.
  8. COAT CONTACT SURFACE OF BODY WITH PRIMER "M" 

    Using a brush, coat Primer M to the exposed part of body on the vehicle side.

    Fig 8: Coating Contact Surface Of Body With Primer Using A Brush
    G02818846Courtesy of © TOYOTA, LICENSE AGREEMENT TMS1002
    NOTE:
    • Allow 3 minutes or more dry the primer coated surface.
    • Do not coat Primer M to the adhesive.
    • Do not keep any of the opened Primer M for later use.
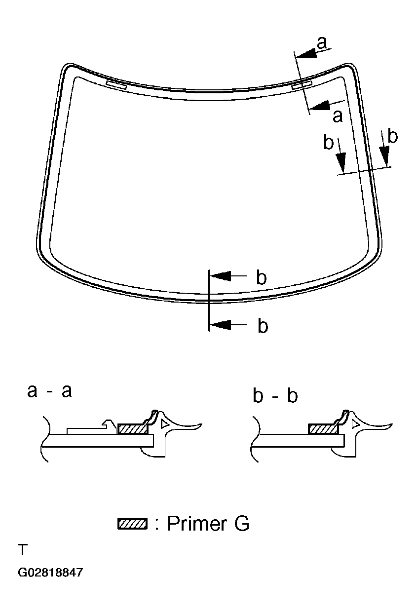
  9. COAT CONTACT SURFACE OF GLASS WITH PRIMER "G" 
    1. Using a brush or sponge, coat the edge of the glass and the contact surface with Primer G as shown in the illustration.
    2. Fig 9: Coating Contact Surface Of Glass With Primer Using A Brush
      G02818847Courtesy of © TOYOTA, LICENSE AGREEMENT TMS1002
    3. When the primer is applied by mistake to the area other than the specified, wipe it off with a clean shop rag before the primer dries.
    NOTE:
    • Allow 3 minutes or more dry the primer coated surface.
    • Do not keep any of the opened Primer G for later use.
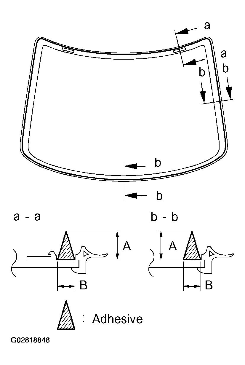
  10. APPLY ADHESIVE 
    1. Cut off the tip of the cartridge nozzle.

      Part No. 08850-00801 or equivalent 

      NOTE: After cutting off the tip, use all adhesive within the time described in the table below.
      TACKFREE TIME DESCRIPTION

      Temperature Tackfree Time
      35 °C(95 °F) 15 Minutes
      20 °C(68 °F) 100 Minutes
      5 °C(41 °F) 8 Hours
    2. Load the cartridge into the sealer gun.
    3. Coat the glass with adhesive as shown in the illustration.
      Fig 10: Applying Adhesive
      G02818848Courtesy of © TOYOTA, LICENSE AGREEMENT TMS1002

      A: 13.5 mm (0.531 in.) 

      B: 8.0 mm (0.315 in.) 

  11. INSTALL GLASS 
    Fig 11: Installing Glass
    G02818849Courtesy of © TOYOTA, LICENSE AGREEMENT TMS1002
    1. Position the glass so that the reference marks are lined up, and press in gently along the rim.
      NOTE: Confirm that the moulding is attached to the body panel as shown in the illustration.
      Fig 12: Checking Moulding Attached To Body Panel
      G02818850Courtesy of © TOYOTA, LICENSE AGREEMENT TMS1002
    2. Hold the back window glass in place securely with a protective tape or equivalent until the adhesive hardens.
    NOTE: Take care not to drive the vehicle during the time described in the table below.
    TIME UNTIL DRIVING

    Temperature Minimum Time Prior To Driving The Vehicle
    35 °C(95 °F) 1.5 Hours
    20 °C(68 °F) 5 Hours
    5 °C(41 °F) 24 Hours
  12. INSPECT FOR LEAK AND REPAIR 
    NOTE: Conduct a leak test after hardening time has elapsed.
  13. CONNECT DEFOGGER WIRE CONNECTOR 
  14. INSTALL ROOF HEADLINING 
  15. w/ Rear personal light: 

    INSTALL REAR PERSONAL LIGHT 

  16. INSTALL UPPER BACK SILENCER 
  17. INSTALL PACKAGE TRAY TRIM 
  18. INSTALL HIGH-MOUNTED STOP LIGHT 
  19. INSTALL ROOF SIDE INNER GARNISH 
  20. INSTALL REAR SEAT (See  INSTALLATION  )  .