lemon-mirror:
Home >> Toyota >> 2003 >> Avalon XLS >> Repair and Diagnosis >> Body & Frame >> Windows >> Windshield >> Installation

Body & Frame: Windows: Windshield: Installation

  1. CLEAN AND SHAPE CONTACT SURFACE OF BODY 
    1. Using a knife, cut away any rough areas on the body.
      NOTE: Leave of the adhesive on the body as much as possible.
    2. Clean the cut surface of the adhesive with a piece of shop rag saturated in cleaner.
    3. Fig 1: Cleaning & Shape Contact Surface Of Body
      G02818802Courtesy of © TOYOTA, LICENSE AGREEMENT TMS1002
    NOTE: Even if all the adhesive has been removed, clean the body.
  2. CLEAN REMOVED GLASS 
    1. Remove the damaged No. 2 stoppers and dams.
    2. Using a scraper, remove the adhesive sticking to the glass.
    3. Clean the glass with cleaner.
    4. Fig 2: Cleaning Removed Glass
      G02818803Courtesy of © TOYOTA, LICENSE AGREEMENT TMS1002
    NOTE:
    • Be careful not to damage the glass.
    • Do not touch the glass face after cleaning it.
  3. REPLACE NO. 1 STOPPERS 
    1. Remove the damaged stoppers.
    2. Fig 3: Removing Damaged Stoppers
      G02818804Courtesy of © TOYOTA, LICENSE AGREEMENT TMS1002
    3. Cut off the old adhesive around the stopper installation area.
      NOTE: Be careful not to damage the body.
    4. Clean the installation area.
    5. Attach new stoppers to the body so that the notches on the body will align with the stoppers as shown in the illustration.
    NOTE: Make sure that the stoppers are installed facing in the correct direction.
  4. INSTALL NEW NO. 2 STOPPERS 
    Fig 4: Installing Stoppers
    G02818805Courtesy of © TOYOTA, LICENSE AGREEMENT TMS1002

    Attach new stoppers to the glass so that the ceramic notches on the glass will align with the stoppers as shown in the illustration.

    NOTE: Make sure that the stoppers are installed facing the correct direction.

    A: 7.2 +/- 0.5 mm (0.283 +/- 0.020 in.) 

  5. INSTALL NEW RETAINERS 

    Attach new retainers to the glass with the ceramic notch on the glass aligned with the retainers as shown in the illustration.

    Fig 5: Installing Retainers
    G02818806Courtesy of © TOYOTA, LICENSE AGREEMENT TMS1002
  6. INSTALL NEW DAMS 

    Attach new dams to the glass as shown in the illustration.

    Fig 6: Installing Dams
    G02818807Courtesy of © TOYOTA, LICENSE AGREEMENT TMS1002
  7. POSITION GLASS 
    1. Place the glass in the correct position.
    2. Fig 7: Placing Glass In Correct Position
      G02818808Courtesy of © TOYOTA, LICENSE AGREEMENT TMS1002
    3. Check that all contacting parts of the glass rim are set perfectly even.
    4. Place reference marks on the glass and body.
    5. Remove the glass.
  8. CLEAN CONTACT SURFACE OF GLASS 

    Using a cleaner, clean the contact surface which is black-colored area around the entire glass rim.

    Fig 8: Cleaning Contact Surface Of Glass Using A Cleaner
    G02818809Courtesy of © TOYOTA, LICENSE AGREEMENT TMS1002
    NOTE: Do not touch the glass face after cleaning it.
  9. COAT CONTACT SURFACE OF BODY WITH PRIMER "M" 

    Using a brush, coat Primer M to the exposed part of body on the vehicle side.

    Fig 9: Coating Primer To Exposed Part Of Body Using A Brush
    G02818810Courtesy of © TOYOTA, LICENSE AGREEMENT TMS1002
    NOTE:
    • Allow 3 minutes or more to dry the primer coated surface.
    • Do not coat Primer M to the adhesive.
    • Do not keep any of the opened Primer M for later use.
  10. COAT CONTACT SURFACE OF GLASS WITH PRIMER "G" 
    1. Using a brush or sponge, coat the edge of the glass and the contact surface with Primer G as shown in the illustration.
    2. Fig 10: Coating Contact Surface Of Glass With Primer "G"
      G02818811Courtesy of © TOYOTA, LICENSE AGREEMENT TMS1002
    3. When the primer is applied by mistake to the area other than the specified, wipe it off with a clean shop rag before the primer dries.
    NOTE:
    • Allow 3 minutes or more to dry the primer coated surface.
    • Do not keep any of the opened Primer G for later use.
  11. APPLY ADHESIVE 
    1. Cut off the tip of the cartridge nozzle.

      Part No. 08850-00801 or equivalent 

      NOTE: After cutting off the tip, use all adhesive within the time described in the table below.
      TACKFREE TIME DESCRIPTION

      Temperature Tackfree Time
      35°C (95 °F) 15 Minutes
      20 °C (68 °F) 100 Minutes
      5 °C (41 °F) 8 Hours
    2. Load the cartridge into the sealer gun.
    3. Coat the glass with adhesive as shown in the illustration.
      Fig 11: Applying Adhesive
      G02818812Courtesy of © TOYOTA, LICENSE AGREEMENT TMS1002

      A: 13.5 mm (0.531 in.) 

      B: 8.0 mm (0.315 in.) 

  12. INSTALL WINDSHIELD GLASS AND MOULDING 
    1. Install the glass, aligning the reference marks using a suction rubber.
      Fig 12: Aligning Reference Marks
      G02818813Courtesy of © TOYOTA, LICENSE AGREEMENT TMS1002
      NOTE: Check to see that the stoppers are attached to the body correctly.
    2. Lightly press the glass front surface for close contact.
    3. Correct insufficient or protruded adhesive agent using a spatula.
      NOTE: Apply adhesive agent up to the windshield glass edge.
      Fig 13: Correcting Insufficient Adhesive Agent
      G02818814Courtesy of © TOYOTA, LICENSE AGREEMENT TMS1002
    4. Install a new windshield moulding to the windshield glass before the adhesive agent hardens.
      NOTE: Install the moulding, aligning the center of moulding with the center of body.
    5. Remove any excessive adhesive agent before it hardens.
    6. Hold the glass and moulding in place securely with a protective tape or equivalent until the adhesive hardens.
    Fig 14: Installing Windshield Moulding To Windshield Glass (W/O Rain Gutter)
    G02818815Courtesy of © TOYOTA, LICENSE AGREEMENT TMS1002
    NOTE: Take care not to drive the vehicle during the time described in the table below.
    TIME UNTIL DRIVING

    Temperature Minimum Time Prior To Driving The Vehicle
    35 °C (95 °F) 1.5 Hours
    20 °C (68 °F) 5 Hours
    5 °C (41 °F) 24 Hours
  13. INSPECT FOR LEAK AND REPAIR 
    NOTE: Conduct a leak test after the hardening time has elapsed.
  14. w/Sliding roof: 

    INSTALL SLIDING ROOF OPENING TRIM 

  15. INSTALL ASSIST GRIP 
  16. INSTALL COWL TOP VENTILATOR LOUVER 
  17. INSTALL HOOD TO COWL TOP SEAL 
  18. INSTALL WIPER ARMS 
    1. Operate the wiper motor once and turn the wiper switch OFF.
    2. Install the wiper arms and tighten nuts by hand.
      Fig 15: Installing Windshield Moulding To Windshield Glass (W/Rain Gutter)
      G02818816Courtesy of © TOYOTA, LICENSE AGREEMENT TMS1002
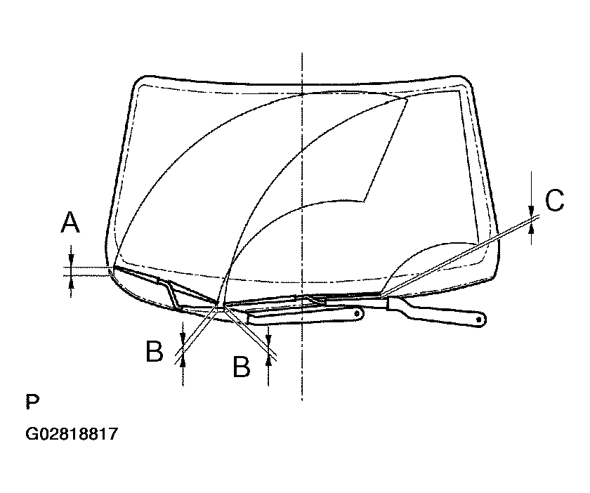
    3. Adjust the installation position of the wiper arms to the position as shown in the illustration.
      Fig 16: Adjusting Installation Position Of Wiper Arms
      G02818817Courtesy of © TOYOTA, LICENSE AGREEMENT TMS1002

      A: 52 mm (2.05 in.) 

      B: 30 +/- 10 mm (1.18 +/- 0.39 in.) 

      C: 21.3 mm (0.839 in.) 

    4. Torque the 2 nuts.

      Torque: 24 N.m (248 kgf.cm, 18 ft.lbf) 

    5. Install the 2 wiper arm head caps.
  19. INSTALL FRONT PILLAR GARNISH 
  20. INSTALL FRONT DOOR OPENING TRIMS 
  21. INSTALL ROOF CONSOLE BOX 
  22. INSTALL SUN VISORS AND HOLDERS 
  23. INSTALL INNER REAR VIEW MIRROR